本實用新型公開了一種污水處理填料。該填料由許多片波紋薄板組合而成;單片波紋薄板上端和下端間隔設有一個個截面為梯形的凸臺,中間段是一列列平行排列的傾斜的階梯,每列傾斜的階梯由一排排平行排列的凸出的臺階即小段波紋構成;相鄰兩片波紋薄板反向靠疊,在相鄰兩片波紋薄板之間形成了若干個蜂窩狀凹渠,整個波紋填料模塊由交錯排列的一個個蜂窩狀凹渠構成,每個蜂窩狀凹渠內部又有許多傾斜的臺階。該填料結構設計獨特,有利于大幅提高比表面積,掛膜率高;形成的蜂窩狀凹渠使得水流能夠重新分布,改變其流動方向,從而使水流在橫截面上分布更為均勻;同時,水流在填料內部形成交叉流動混合,為廢水和生物體的接觸創造了良好的水力條件。
摘要附圖

權利要求書
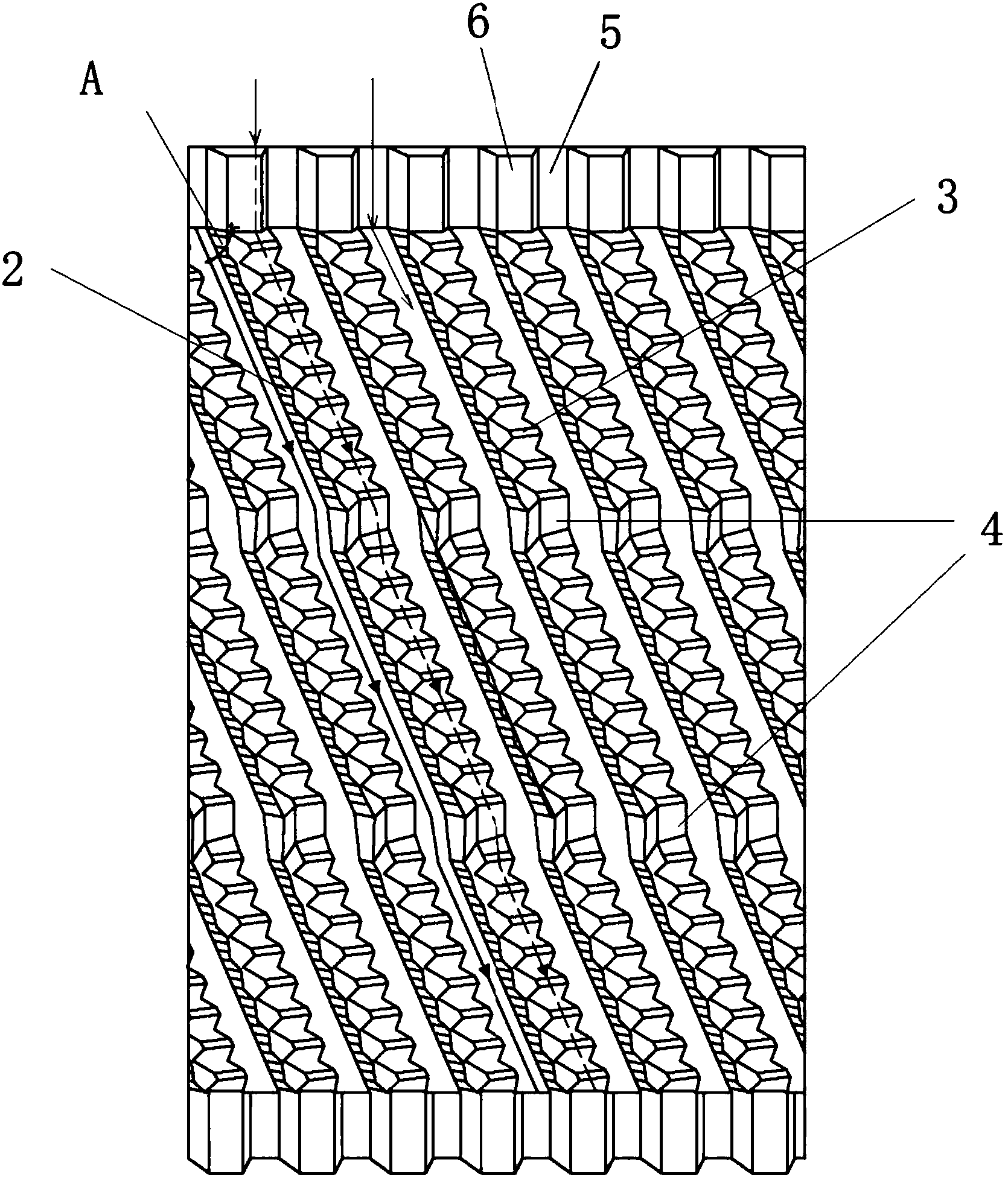
1.一種污水處理填料,其特征在于,該填料是由許多片波紋薄板組合而成的波紋填料模塊;單片波紋薄板的上端和下端每間隔一段距離設有一個截面為梯形的凸臺,間隔的距離與梯形的上底一樣寬;與上端和下端的一個個截面為梯形的凸臺相連的中間段是一列列平行排列的傾斜的階梯,每一列傾斜的階梯由一排排平行排列的凸出的臺階即小段波紋構成;相鄰兩片波紋薄板反向靠疊,在相鄰兩片波紋薄板之間形成了若干個蜂窩狀凹渠,整個波紋填料模塊由交錯排列的一個個蜂窩狀凹渠構成,每個蜂窩狀凹渠內部又有許多臺階。
2.如權利要求1所述的污水處理填料,其特征在于,單片波紋薄板的波紋傾斜角即每列傾斜的階梯與水平方向的夾角為40°~65°。
3.如權利要求1或2所述的污水處理填料,其特征在于,在一排排凸出的臺階中間設有多個高臺階。
4.如權利要求1或2所述的污水處理填料,其特征在于,相鄰兩片波紋薄板的上端和下端的截面為梯形的凸臺分別粘結在一起。
5.如權利要求1或2所述的污水處理填料,其特征在于,單片波紋薄板的厚度為1-3cm,由若干片波紋薄板兩兩反向靠疊粘結組合而成的整個波紋填料模塊的整體外形為長方體,長30~80cm,寬30~80cm,高50~200cm。
6.如權利要求1或2所述的污水處理填料,其特征在于,該填料材料主要成分為聚丙烯。
7.如權利要求6所述的污水處理填料,其特征在于,該填料材料中含有穩定劑和抗氧劑。
8.如權利要求7所述的污水處理填料,其特征在于,該填料材料中還含有潤滑劑。
說明書
一種污水處理填料
技術領域
本實用新型屬于污水處理技術領域,涉及一種污水處理填料。
背景技術
在廢水生物膜法處理工藝中,填充的填料是其核心部分。填料是生物膜賴以棲息的場所,是生物膜的載體,影響著微生物的生長、繁殖、脫落和形態及空間結構,同時兼有截留懸浮物質的作用。再次,填料起到切割、阻擋氣泡的作用,可以增加氣泡在水體中的停留時間和氣、液接觸表面積,提高傳質效率。由此可見填料有著極其重要的作用,對于生物膜法工藝的運行效果和能耗都有著十分重要的影響和意義。同時,載體填料的費用在生物膜法處理系統的基建費用中又占較大比重,所以,填料關系到整個生物膜法處理系統的合理性。
隨著技術工藝的發展,生物填料從主要使用碎石、卵石、爐渣、和焦炭等小比表面積和低空隙率的實心填料,發展到如今使用高強度、輕質、比表面積大、空隙率高的填料,大大提高了生物膜法的處理效率。填料的性能指標有:水力學特征(包括比表面積孔隙率、形狀尺寸和填充度)、穩定性、生物膜附著性及成本。填料的種類分為定型固定式填料、懸掛式填料(包括軟性填料、半軟性填料、組合填料及彈性填料)、分散型填料(包括堆積式填料、懸浮式填料)、新型生物填料等。
現有的接觸氧化法工藝的懸掛式填料,存在易堵塞、易斷裂、掛膜速度慢、對水量適應性不強等問題,并且使用壽命不長。
實用新型內容
本實用新型的目的在于克服現有技術的不足,提供一種不易堵塞斷裂、掛膜速度快、使用壽命長的污水處理填料。
本實用新型的技術方案如下:
一種污水處理填料,該填料是由許多片波紋薄板組合而成的波紋填料模塊;單片波紋薄板的上端和下端每間隔一段距離設有一個截面為梯形的凸臺,間隔的距離與梯形的上底一樣寬;與上端和下端的一個個截面為梯形的凸臺相連的中間段是一列列平行排列的傾斜的階梯,每一列傾斜的階梯由一排排平行排列的凸出的臺階(即小段波紋)構成;相鄰兩片波紋薄板反向靠疊,在相鄰兩片波紋薄板之間形成了若干個蜂窩狀凹渠,整個波紋填料模塊是由交錯排列的一個個蜂窩狀凹渠構成的,每個蜂窩狀凹渠內部又有許多臺階(即小段波紋)。
進一步地,單片波紋薄板的波紋傾斜角即每列傾斜的階梯與水平方向的夾角為40°~65°。
進一步地,在一排排凸出的臺階(即小段波紋)中間設有多個高臺階。
進一步地,單片波紋薄板的厚度為1-3cm,由若干片波紋薄板兩兩反向靠疊粘結組合而成的整個波紋填料模塊的整體外形為長方體,長30~80cm,寬30~80cm,高50~200cm。
組裝時,相鄰兩片波紋薄板反向靠疊(即相鄰兩片波紋薄板的傾斜角反向排列),通過將相鄰兩片波紋薄板的上端和下端的截面為梯形的凸臺分別粘結在一起,可組合成不同尺寸的模塊。
進一步地,填料材料主要成分為聚丙烯,該聚丙烯與水的接觸角小于90°,有良好的親水性,質地輕且強度高。
進一步地,該填料材料中還含有部分穩定劑和抗氧劑,使得填料改性。抗氧化劑的加入使得聚丙烯填料具有卓越的抗氧化性能,穩定劑的加入能抑制或減緩填料的光氧老化或光老化過程,可以有效地延長填料的使用壽命。
更進一步地,該填料材料中還含有部分潤滑劑,使得填料不容易堵塞,掛膜速度快。
本實用新型的污水處理填料的工作原理如下:當有污水通過反應池時,用鼓風機在填料底部曝氣充氧,空氣能自下而上,夾帶污水由下至上流經填料,污水自由通過填料,空氣逸走后,污水則在填料間隔自上向下返回池底。在填料表面形成生物膜,由于內部的缺氧環境勢必形成生物膜內層供氧不足甚至處于厭氧狀態,這樣在生物膜中形成了由厭氧菌、兼性菌和好氧菌以及原生動物和后生動物形成的長食物鏈的生物群落,能有效地將不能好氧生物降解的COD部分厭氧降解為可生化的有機物。水中的懸浮雜質在填料上進行沉淀,分離出的泥渣在重力作用下沿著填料向下滑至池底,所以填料還可作為斜板沉淀的載體。
本實用新型的有益效果:
本實用新型的污水處理填料的結構設計獨特,單片波紋薄板的波紋紋路在縱向上呈一列列傾斜的階梯狀排布,由若干片波紋薄板兩兩反向靠疊粘結組合而成的整個波紋填料模塊的整體外形為長方體,模塊內部為蜂窩狀(內部有許多交錯的蜂窩狀凹渠,每個蜂窩狀凹渠內部又有許多傾斜的臺階),有利于大幅提高比表面積,掛膜率高;形成的蜂窩狀凹渠使得水流能夠重新分布,改變其流動方向,從而使水流在橫截面上分布更為均勻;同時,水流在填料內部形成交叉流動混合,為廢水和生物體的接觸創造了良好的水力條件。
本實用新型的污水處理填料,屬于接觸氧化法工藝的懸掛式填料。與生物接觸氧化法的普通懸掛式填料相比,該填料不存在堵塞、斷裂的問題,并且使用壽命長。填料為高分子生物材質,掛膜速度快,并且對水量適應性強。填料呈蜂窩狀,除可用于生物掛膜外,還可作為斜板沉淀的載體,使得曝氣池和沉淀池可以合建在一起,減少了二沉池,使得整個污水處理系統更加緊湊,節約了空間及成本。





