一種污水初級過濾凈化系統,包括抽水裝置(1)、框體(2)、擋板裝置(3)、沉淀裝置(4)、滾輪裝置(5)、過濾裝置(6)、連接裝置(7)及第二過濾裝置(8),抽水裝置(1)包括管道(11)、水泵(13),框體(2)上設有通孔(21)、第二通孔(22)、第三通孔(23)、定位塊(24)、第四刷毛(25),擋板裝置(3)包括橫桿(31)、斜桿(32)、彈性桿(33)、擋板(34)、彈簧(35),沉淀裝置(4)包括豎桿、固定塊、沉淀框、過濾網、第二彈簧、配重塊,本發明過濾方式多樣化,并且過濾效果較好,能夠滿足污水處理的需要。
摘要附圖

權利要求書
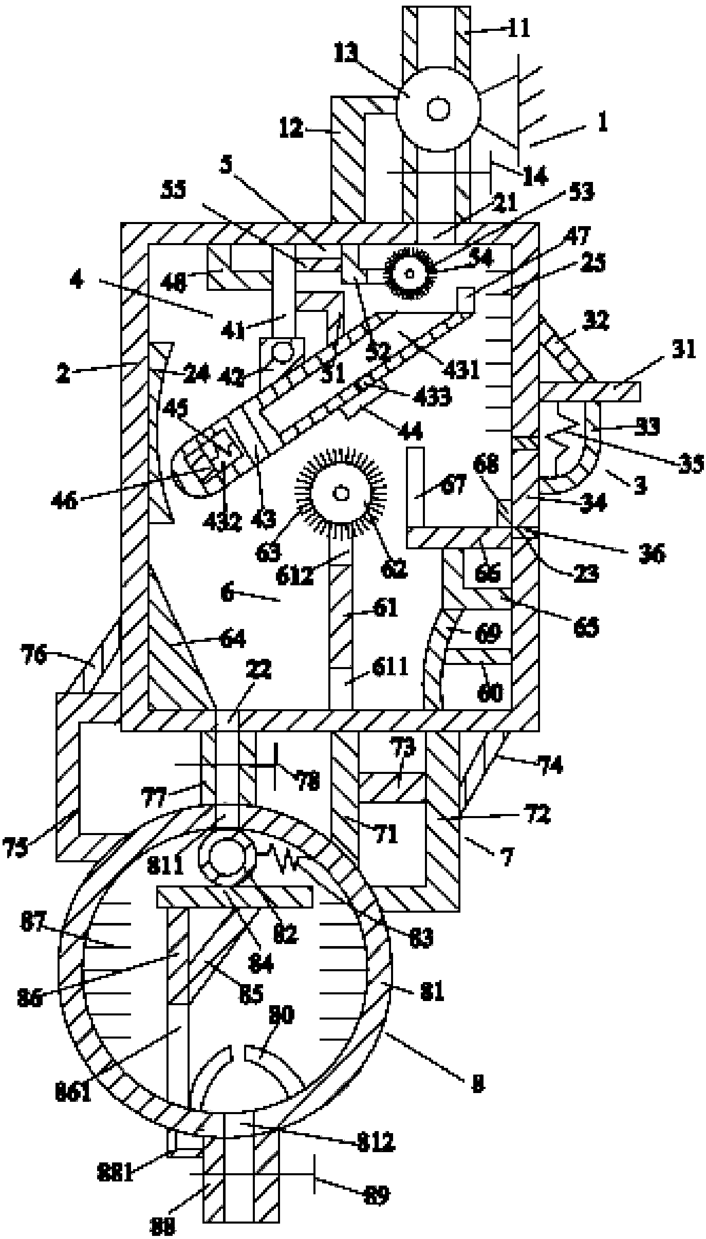
1.一種污水初級過濾凈化系統,包括抽水裝置(1)、位于所述抽水裝置(1)下方的框體(2)、設置于所述框體(2)上的擋板裝置(3)、收容于所述框體(2)內的沉淀裝置(4)、位于所述沉淀裝置(4)上方的滾輪裝置(5)、位于所述沉淀裝置(4)下方的過濾裝置(6)、位于所述框體(2)下方的連接裝置(7)及位于所述連接裝置(7)下方的第二過濾裝置(8),其特征在于:所述抽水裝置(1)包括管道(11)、設置于所述管道(11)上的水泵(13)、位于所述水泵(13)左側的支架(12)及設置于所述管道(11)上的閥門(14),所述擋板裝置(3)包括橫桿(31)、位于所述橫桿(31)上方的斜桿(32)、位于所述橫桿(31)下方的彈性桿(33)、位于所述彈性桿(33)左側的擋板(34)、設置于所述彈性桿(33)上的彈簧(35)、設置于所述擋板(34)上的密封環(36),所述過濾裝置(6)包括支撐桿(61)、設置于所述支撐桿(61)上端的第二滾輪(62)、設置于所述第二滾輪(62)上的第二刷毛(63)、位于所述支撐塊(61)左側的集中塊(64)、位于所述支撐桿(61)右側的第五支架(65)、位于所述第五支架(65)上方的橫板(66)、位于所述橫板(66)上方的第三過濾網(67)、位于所述橫板(66)上方的限定塊(68)、位于所述第五支架(65)下方的彎曲桿(69)及位于所述彎曲桿(69)右側的第三橫桿(60)。
2.根據權利要求1所述的污水初級過濾凈化系統,其特征在于:所述第二過濾裝置(8)包括第二框體(81)、收容于所述第二框體(81)內的海綿環(82)、位于所述海綿環(82)右側的第三彈簧(83)、位于所述海綿環(82)下方的第二橫板(84)、位于所述第二橫板(84)下方的第四斜桿(85)、位于所述第四斜桿(85)左側的第三支撐桿(86)、設置于所述第二框體(81)內表面上的第三刷毛(87)、位于所述第二框體(81)下方的第三管道(88)、設置于所述第三管道(88)上的第三閥門(89)及設置于所述第二框體(81)內表面上的第四過濾網(80)。
3.根據權利要求1所述的污水初級過濾凈化系統,其特征在于:所述橫桿(31)呈長方體且水平放置,所述橫桿(31)的左端與所述框體(2)的右表面固定連接,所述斜桿(32)呈傾斜狀,所述斜桿(32)的上端與所述框體(2)的右表面固定連接,所述斜桿(32)的下端與所述橫桿(31)的上表面固定連接。
4.根據權利要求1所述的污水初級過濾凈化系統,其特征在于:所述彈性桿(33)的上端與所述橫桿(31)的下表面固定連接,所述彈性桿(33)的下端與所述擋板(34)的右表面固定連接,所述彈簧(35)的上端與所述橫桿(31)的下表面固定連接,所述彈簧(35)的下端與所述彈性桿(33)固定連接,所述擋板(34)呈長方體且豎直放置,所述密封環(36)呈環狀,所述密封環(36)的內表面與所述擋板(34)的外表面固定連接。
5.根據權利要求1所述的污水初級過濾凈化系統,其特征在于:所述支撐桿(61)呈長方體且豎直放置,所述支撐桿(61)的下端與所述框體(2)的內表面固定連接,所述支撐桿(61)上設有位于其上端的第三凹槽(612)及位于其下方的第四凹槽(611),所述第二滾輪(62)呈圓柱體,所述第二滾輪(62)收容于所述第三凹槽(612)內且與所述支撐桿(61)軸轉連接。
6.根據權利要求1所述的污水初級過濾凈化系統,其特征在于:所述第二刷毛(63)設有若干個,所述第二刷毛(63)均勻分布在所述第二滾輪(62)上且與其固定連接,所述集中塊(64)的橫截面呈直角三角形,所述集中塊(64)的下表面及其左表面與所述框體(2)的內表面固定連接,所述第五支架(65)呈L型,所述第五支架(65)的一端與所述框體(2)的內表面固定連接,所述第五支架(65)的另一端與所述橫板(66)的下表面固定連接。
7.根據權利要求1所述的污水初級過濾凈化系統,其特征在于:所述橫板(66)呈長方體且水平放置,所述橫板(66)的右端與所述框體(2)的內表面固定連接,所述密封環(36)的左表面頂靠在所述橫板(66)的右表面上,所述第三過濾網(67)呈長方體且豎直放置,所述第三過濾網(67)的下表面與所述橫板(66)的上表面固定連接,所述限定塊(68)呈長方體且豎直放置,所述限定塊(68)的下表面與所述橫板(66)的上表面固定連接,所述限定塊(68)的右表面與所述擋板(34)的左表面接觸。
8.根據權利要求1所述的污水初級過濾凈化系統,其特征在于:所述彎曲桿(69)呈彎曲狀,所述彎曲桿(69)的上端與所述第五支架(65)的下表面固定連接,所述彎曲桿(69)的下端與所述框體(2)的內表面固定連接,所述第三橫桿(60)呈水平狀,所述第三橫桿(60)的右端與所述框體(2)的內表面固定連接,所述第三橫桿(60)的左端與所述彎曲桿(69)固定連接。
說明書
一種污水初級過濾凈化系統
技術領域
本發明涉及污水處理技術領域,尤其涉及一種污水初級過濾凈化系統。
背景技術
我國污水處理行業突飛猛進,整體發展處于快速成長期,主要表現在污水處理能力迅速擴張、污水處理率穩步提高、污水處理量快速增長等方面。城鎮污水垃圾處理設施建設推動了環保產業發展,到2020年城市污水處理率將不低于90%,我國污水處理業務市場空間廣闊,此外,我國鼓勵利用再生水的政策,也將對污水凈化處理業務提供廣闊的市場空間。
中國專利CN205269172U揭示了一種污水處理裝置,它包括箱體,所述箱體設置有進水管、凈水出水管、出渣管、第二出渣管和污水出水管,所述的箱體內設置有分別通過管路連接進水管的左預處理箱和右預處理箱,所述的左預處理箱和右預處理箱分別通過管路連接左過濾器和右過濾器,所述的左過濾器和右過濾器分別連接出渣管和第二出渣管,所述的左過濾器和右過濾器分別通過管路連接左檢測箱和右檢測箱,所述的左檢測箱通過管路連接右預處理箱,所述的右檢測箱連接污水出水管,所述的左檢測箱和右檢測箱分別通過管路連接凈水箱,所述的凈水箱和凈水出水管連接,其有益效果為可以設置雙過濾裝置,即可同時過濾提高效率,亦可二次過濾保證水質。然而,其無法利用沉淀的作用對污水進行預處理,無法有效的清除污水中的雜質;并且過濾方式單一,過濾效果有限;并且僅能進行單重過濾,過濾的不夠徹底;同時當一側的過濾器損壞時,就會影響整體過濾的順利進行。
因此,需要提供一種新的技術方案解決上述技術問題。
發明內容
本發明要解決的問題是提供一種污水初級過濾凈化系統,包括抽水裝置、框體、擋板裝置、沉淀裝置、滾輪裝置、過濾裝置、連接裝置及第二過濾裝置,抽水裝置包括管道、水泵,框體上設有通孔、第二通孔、第三通孔、定位塊、第四刷毛,擋板裝置包括橫桿、斜桿、彈性桿、擋板、彈簧,沉淀裝置包括豎桿、固定塊、沉淀框、過濾網、第二彈簧、配重塊,本發明過濾方式多樣化,并且過濾效果較好,能夠滿足污水處理的需要。
為了解決上述技術問題,本發明采用如下技術方案:
一種污水初級過濾凈化系統,包括抽水裝置、位于所述抽水裝置下方的框體、設置于所述框體上的擋板裝置、收容于所述框體內的沉淀裝置、位于所述沉淀裝置上方的滾輪裝置、位于所述沉淀裝置下方的過濾裝置、位于所述框體下方的連接裝置及位于所述連接裝置下方的第二過濾裝置,所述抽水裝置包括管道、設置于所述管道上的水泵、位于所述水泵左側的支架及設置于所述管道上的閥門,所述框體上設有位于其上表面的通孔、位于其下表面的第二通孔、位于其右表面的第三通孔、設置于所述框體內表面的定位塊、位于所述定位塊右側的第四刷毛,所述擋板裝置包括橫桿、位于所述橫桿上方的斜桿、位于所述橫桿下方的彈性桿、位于所述彈性桿左側的擋板、設置于所述彈性桿上的彈簧、設置于所述擋板上的密封環,所述沉淀裝置包括豎桿、位于所述豎桿下方的固定塊、位于所述固定塊下方的沉淀框、設置于所述沉淀框上的過濾網、收容于所述沉淀框內的第二彈簧、位于所述第二彈簧下方的配重塊、位于所述沉淀框上方的第二過濾網及位于所述豎桿左側的第二支架,所述滾輪裝置包括第三支架、位于所述第三支架上方的第四支架、設置于所述第四支架上的滾輪、設置于所述滾輪上的刷毛及位于所述第四支架左側的第二橫桿,所述過濾裝置包括支撐桿、設置于所述支撐桿上端的第二滾輪、設置于所述第二滾輪上的第二刷毛、位于所述支撐塊左側的集中塊、位于所述支撐桿右側的第五支架、位于所述第五支架上方的橫板、位于所述橫板上方的第三過濾網、位于所述橫板上方的限定塊、位于所述第五支架下方的彎曲桿及位于所述彎曲桿右側的第三橫桿,所述連接裝置包括第二支撐桿、位于位于所述第二支撐桿右側的第六支架、設置于所述第六支架上的第四橫桿、位于所述第六支架右側的第二斜桿、位于所述第二支撐桿左側的第七支架、位于所述第七支架上方的第三斜桿、位于所述第七支架右側的第二管道及設置于所述第二管道上的第二閥門,所述第二過濾裝置包括第二框體、收容于所述第二框體內的海綿環、位于所述海綿環右側的第三彈簧、位于所述海綿環下方的第二橫板、位于所述第二橫板下方的第四斜桿、位于所述第四斜桿左側的第三支撐桿、設置于所述第二框體內表面上的第三刷毛、位于所述第二框體下方的第三管道、設置于所述第三管道上的第三閥門及設置于所述第二框體內表面上的第四過濾網。
所述支架呈L型,所述支架的上端與所述水泵固定連接,所述支架的下端呈豎直狀。
所述管道的下端對準所述通孔且與所述框體的上表面固定連接,所述支架的下端與所述框體的上表面固定連接,所述定位塊的左表面與所述框體的內表面固定連接,所述定位塊的右表面呈曲面狀,所述第四刷毛設有若干個,所述第四刷毛水平放置,所述第四刷毛的右端與所述框體的內表面固定連接。
所述橫桿呈長方體且水平放置,所述橫桿的左端與所述框體的右表面固定連接,所述斜桿呈傾斜狀,所述斜桿的上端與所述框體的右表面固定連接,所述斜桿的下端與所述橫桿的上表面固定連接,所述彈性桿的上端與所述橫桿的下表面固定連接,所述彈性桿的下端與所述擋板的右表面固定連接,所述彈簧的上端與所述橫桿的下表面固定連接,所述彈簧的下端與所述彈性桿固定連接,所述擋板呈長方體且豎直放置,所述密封環呈環狀,所述密封環的內表面與所述擋板的外表面固定連接。
所述豎桿呈長方體且豎直放置,所述豎桿的上端與所述框體的內表面固定連接,所述固定塊的下表面與所述沉淀框固定連接,所述固定塊與所述豎桿的下端軸轉連接,所述沉淀框呈傾斜狀,所述沉淀框上設有凹槽、位于所述凹槽下方的空腔及第四通孔,所述過濾網的上表面與所述沉淀框固定連接,所述過濾網位于所述第四通孔的下方,所述第二彈簧的上端與所述沉淀框的內表面固定連接,所述第二彈簧的下端與所述配重塊固定連接,所述配重塊呈長方體,所述第二過濾網呈長方體,所述第二過濾網的下表面與所述沉淀框的上表面固定連接,所述第二支架呈L型,所述第二支架的一端與所述框體的內表面固定連接,所述第二支架的另一端與所述豎桿的左表面固定連接。
所述第三支架呈L型,所述第三支架的上端與所述豎桿的右表面固定連接,所述第三支架的下端頂靠在所述沉淀框上,所述第四支架呈L型,所述第四支架的上端與所述框體的內表面固定連接,所述第四支架的下端呈水平狀且位于所述通孔的下方,所述第四支架的下端設有第二凹槽,所述滾輪呈圓柱體且水平放置,所述滾輪收容于所述第二凹槽內且與所述第四支架軸轉連接,所述刷毛設有若干個,所述刷毛均勻分布在所述滾輪上且與其固定連接,所述第二橫桿呈長方體且水平放置,所述第二橫桿的右端與所述第四支架固定連接,所述第二橫桿的左端與所述豎桿的右表面固定連接。
所述支撐桿呈長方體且豎直放置,所述支撐桿的下端與所述框體的內表面固定連接,所述支撐桿上設有位于其上端的第三凹槽及位于其下方的第四凹槽,所述第二滾輪呈圓柱體,所述第二滾輪收容于所述第三凹槽內且與所述支撐桿軸轉連接,所述第二刷毛設有若干個,所述第二刷毛均勻分布在所述第二滾輪上且與其固定連接,所述集中塊的橫截面呈直角三角形,所述集中塊的下表面及其左表面與所述框體的內表面固定連接,所述第五支架呈L型,所述第五支架的一端與所述框體的內表面固定連接,所述第五支架的另一端與所述橫板的下表面固定連接,所述橫板呈長方體且水平放置,所述橫板的右端與所述框體的內表面固定連接,所述密封環的左表面頂靠在所述橫板的右表面上,所述第三過濾網呈長方體且豎直放置,所述第三過濾網的下表面與所述橫板的上表面固定連接,所述限定塊呈長方體且豎直放置,所述限定塊的下表面與所述橫板的上表面固定連接,所述限定塊的右表面與所述擋板的左表面接觸,所述彎曲桿呈彎曲狀,所述彎曲桿的上端與所述第五支架的下表面固定連接,所述彎曲桿的下端與所述框體的內表面固定連接,所述第三橫桿呈水平狀,所述第三橫桿的右端與所述框體的內表面固定連接,所述第三橫桿的左端與所述彎曲桿固定連接。
所述第二支撐桿呈豎直狀,所述第二支撐桿的上端與所述框體的下表面固定連接,所述第六支架呈L型,所述第六支架的上端與所述框體的下表面固定連接,所述第六支架的下端呈水平狀,所述第四橫桿呈長方體且水平放置,所述第四橫桿的右端與所述第六支架固定連接,所述第四橫桿的左端與所述第二支撐桿的右表面固定連接,所述第二斜桿呈傾斜狀,所述第二斜桿的上端與所述框體的下表面固定連接,所述第二斜桿的下端與所述第六支架固定連接,所述第七支架呈凹字形,所述第七支架的上端與所述框體的左表面固定連接,所述第三斜桿呈傾斜狀,所述第三斜桿的上端與所述框體的左表面固定連接,所述第三斜桿的下端與所述第七支架的上表面固定連接,所述第二管道呈豎直狀,所述第二管道的上端對準所述第二通孔且與所述框體的下表面固定連接。
所述第二框體呈空心的圓柱體,所述第二框體水平放置,所述第二框體上設有第五通孔及第六通孔,所述第二管道的下端對準所述第五通孔且與所述第二框體的外表面固定連接,所述第二支撐桿的下端與所述第二框體固定連接,所述第六支架及第七支架的下端與所述第二框體固定連接,所述第二橫板呈長方體且水平放置,所述第三支撐桿呈豎直狀,所述第三支撐桿的下端與所述第二框體的內表面固定連接,所述第三支撐桿的上端與所述第二橫板的下表面固定連接,所述第三支撐桿的下端設有第五凹槽,所述第四斜桿呈傾斜狀,所述第四斜桿的下端與所述第三支撐桿的側面固定連接,所述第四斜桿的上端與所述第二橫板的下表面固定連接,所述海綿環呈橫截面為圓環的柱體,所述海綿環水平放置,所述海綿環位于所述第五通孔的下方,所述海綿環頂靠在所述第二框體的內表面上以及所述第二橫板的上表面上,所述第三彈簧呈水平狀,所述第三彈簧的右端與所述第二框體的內表面固定連接,所述第三彈簧的左端與所述海綿環固定連接,所述第三刷毛設有若干個且分別位于所述第二框體內的左右兩側,所述第三刷毛呈水平狀且其一端與所述第二框體的內表面固定連接,所述第三管道呈豎直狀,所述第三管道的上端對準所述第六通孔且與所述第二框體的外表面固定連接,所述第三管道上設有固定架,所述固定架呈L型,所述固定架的一端與所述第二框體固定連接,所述固定架的另一端與所述第三管道固定連接,所述第四過濾網設有兩個且分別位于所述第六通孔的左右兩側,所述第四過濾網呈彎曲狀,所述第四過濾網的下端與所述第二框體的內表面固定連接。
采用上述技術方案后,本發明污水初級過濾凈化系統具有如下優點:
本發明污水初級過濾凈化系統結構簡單,使用方便,能夠對污水進行多重過濾方式,過濾效果較好;其首先可以對污水進行沉淀作用,沉淀出其中的雜質,然后對其進行充分的過濾,有效的清除污水中的雜質;并且可以對過濾網進行清掃作用,清除掉其上占有的灰塵雜質;同時可以污泥收集起來進行處理,并且方便清除;并且可以使得污水經過海綿環的過濾作用,然后將污水分流進行處理,比較后經過過濾網的過濾后排出。過濾方式多樣化,并且過濾效果較好,能夠滿足污水處理的需要。
中天恒遠廠家直銷!優惠的價格!周到的服務!
水處理產品咨詢熱線:010-8022-5898 186-1009-4262





