今天為廣大朋友介紹的是——污水處理氣浮裝置
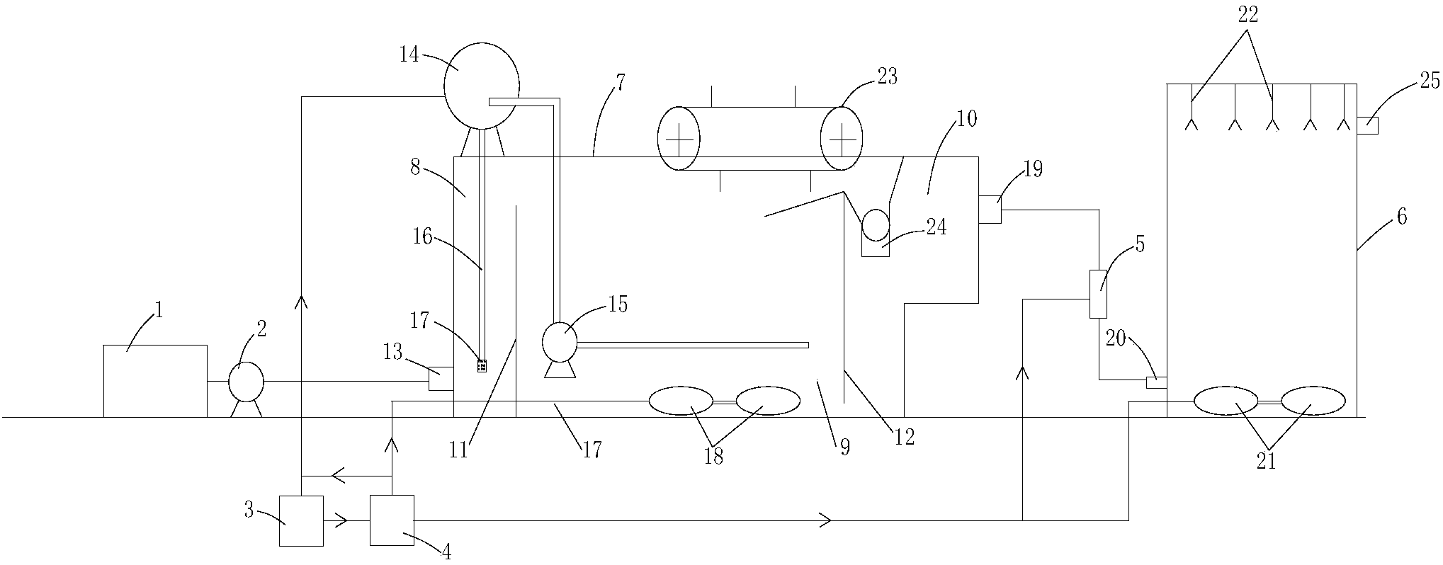
用于污水處理的氣浮裝置,包括依次連接的原水機構、氣浮機構和催化氧化機構,原水機構包括原水池和污水泵,氣浮機構包括氣浮機、制氧機和臭氧發生器,催化氧化機構包括射流器和催化氧化箱。在氣浮機的箱體中設置有溶氣區、氣浮區和清水區,溶氣區的外側下部設置有污水進口,污水進口通過污水泵與原水池相連,溶氣區的上方設置有溶氣罐,溶氣罐分別與制氧機和臭氧發生器相連,氣浮區的底部安裝有多個曝氣盤,曝氣盤均與臭氧發生器相連,清水區的出水口通過射流器與催化氧化箱的清水進口相連,催化氧化箱內的下部設置有多個第二曝氣盤,第二曝氣盤均與臭氧發生器相連,催化氧化箱內的頂部設置有多個紫外線燈管。

1.一種用于污水處理的氣浮裝置,其特征在于,包括依次連接的原水機構、氣浮機構和催化氧化機構,原水機構包括原水池和污水泵,氣浮機構包括氣浮機、制氧機和臭氧發生器,催化氧化機構包括射流器和催化氧化箱;所述氣浮機包括箱體,在箱體中設置有溶氣區、氣浮區和清水區,溶氣區與氣浮區之間設置有隔板且上部相連通,氣浮區和清水區之間設置有第二隔板且下部相連通,所述溶氣區的外側下部設置有污水進口,污水進口通過污水泵與原水池相連,在溶氣區的上方設置有溶氣罐,溶氣罐固定在箱體上,溶氣罐的出水管垂直伸入溶氣區的下方,溶氣罐分別與制氧機和臭氧發生器相連,制氧機與臭氧發生器相連接,所述氣浮區的底部安裝有多個曝氣盤,曝氣盤均與臭氧發生器相連,所述清水區的外側開設有出水口,催化氧化箱的左側下部設置有清水進口,出水口通過射流器與清水進口相連,催化氧化箱內的下部設置有多個第二曝氣盤,第二曝氣盤均與臭氧發生器相連,催化氧化箱內的頂部設置有多個紫外線燈管。
2.根據權利要求1所述的一種用于污水處理的氣浮裝置,其特征在于,所述溶氣罐上設置有進水口和進氣口,進水口通過回流泵與氣浮區的下部相連接,進氣口分別與制氧機和臭氧發生器相連,制氧機產生的氧氣和臭氧發生器產生的臭氧在管路內混合后自進氣口進入溶氣罐內。
3.根據權利要求1所述的一種用于污水處理的氣浮裝置,其特征在于,所述氣浮區的上方設置有刮渣機,刮渣機配有集渣槽,集渣槽設置在箱體的上部的外側。
4.根據權利要求1所述的一種用于污水處理的氣浮裝置,其特征在于,所述射流器上設置有吸氣管,吸氣管與臭氧發生器相連。
5.根據權利要求1所述的一種用于污水處理的氣浮裝置,其特征在于,所述催化氧化箱的右側的上部設置有第二出水口。
6.根據權利要求1所述的一種用于污水處理的氣浮裝置,其特征在于,所述溶氣罐的出水管的下端連接有釋放器。
氣浮是一種廣泛應用于工業廢水和城市污水治理的設備,其起到固液分離或者油水分離的作用。其工作原理是:在水中形成高度分散的微小氣泡,粘附工業廢水和城市污水中疏水的固體或液體顆粒,顆粒粘附氣泡后,形成表觀密度小于水的絮體而上浮到水面,形成浮渣層被刮除,從而實現固液或者油水分離的過程。但污水經過現有的氣浮設備后,水體內的有機物的含量很高,水中COD和BOD仍有大量殘留。
實用新型內容
針對現有的氣浮設備不能很好的去除水中的有機物的問題,本實用新型提供了一種用于污水處理的氣浮裝置。
本實用新型采用以下的技術方案:
一種用于污水處理的氣浮裝置,包括依次連接的原水機構、氣浮機構和催化氧化機構,原水機構包括原水池和污水泵,氣浮機構包括氣浮機、制氧機和臭氧發生器,催化氧化機構包括射流器和催化氧化箱;所述氣浮機包括箱體,在箱體中設置有溶氣區、氣浮區和清水區,溶氣區與氣浮區之間設置有隔板且上部相連通,氣浮區和清水區之間設置有第二隔板且下部相連通,所述溶氣區的外側下部設置有污水進口,污水進口通過污水泵與原水池相連,在溶氣區的上方設置有溶氣罐,溶氣罐固定在箱體上,溶氣罐的出水管垂直伸入溶氣區的下方,溶氣罐分別與制氧機和臭氧發生器相連,制氧機與臭氧發生器相連接,所述氣浮區的底部安裝有多個曝氣盤,曝氣盤均與臭氧發生器相連,所述清水區的外側開設有出水口,催化氧化箱的左側下部設置有清水進口,出水口通過射流器與清水進口相連,催化氧化箱內的下部設置有多個第二曝氣盤,第二曝氣盤均與臭氧發生器相連,催化氧化箱內的頂部設置有多個紫外線燈管。
優選地,所述溶氣罐上設置有進水口和進氣口,進水口通過回流泵與氣浮區的下部相連接,進氣口分別與制氧機和臭氧發生器相連,制氧機產生的氧氣和臭氧發生器產生的臭氧在管路內混合后自進氣口進入溶氣罐內。
優選地,所述氣浮區的上方設置有刮渣機,刮渣機配有集渣槽,集渣槽設置在箱體的上部的外側。
優選地,所述射流器上設置有吸氣管,吸氣管與臭氧發生器相連。
優選地,所述催化氧化箱的右側的上部設置有第二出水口。
優選地,所述溶氣罐的出水管的下端連接有釋放器。
本實用新型具有的有益效果是:
本實用新型提供的一種用于污水處理的氣浮裝置,通過在氣浮機的氣浮區的底部安裝有多個曝氣盤,曝氣盤均與臭氧發生器相連,在氣浮區內實現臭氧曝氣,通過氧化作用分解氧化水中的有機物;之后氣浮機內的清水在射流器內實現臭氧與水的混合,混合后的水進入催化氧化箱內,在催化氧化箱內的下部設置有多個第二曝氣盤,第二曝氣盤均與臭氧發生器相連,在催化氧化箱內進行進一步的臭氧曝氣,催化氧化箱內的頂部設置有多個紫外線燈管,紫外線燈管發出的紫外線會將催化氧化箱內的臭氧與水催化呈羥基,羥基具有更強的氧化能力,進一步分解水中的有機物,經過上述過程分解掉水中大部分的有機物,降低了水中的COD和BOD,提高了污水處理的質量。

污水處理設備聯系方式:
銷售熱線:010-8022-5898
手機號碼:186-1009-4262





