今天為廣大朋友介紹的是——景觀水處理技術
景觀水處理裝置,該裝置由裝置本體、固定裝置和電源裝置組成,裝置本體包括噴頭、磁化器和潛水泵,噴頭、磁化器和潛水泵通過螺紋依次連接成為一個整體;裝置本體固定連接在固定裝置上;噴頭上設有噴孔所述的固定裝置包括固定板和漂浮圓環,固定板安裝于漂浮圓環之上;裝置本體上的噴頭露出在固定板上面,磁化器和潛水泵隱蔽在固定板下面;電源裝置包括導線、電源和開關,電源裝置通過導線與潛水泵相連。本實用新型的有益效果是,本實用新型通過設計循環水處理裝置來實現景觀池中的水循環,水經磁化后,殺死水體中的細菌、藻類細胞,噴頭噴出的噴泉水霧使水體充氧,氧化水體中有機物,同時使水體產生流動性,活化水體。

權利要求書
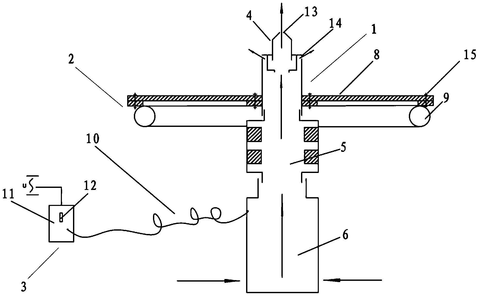
1.一種景觀水處理裝置,該裝置由裝置本體(1)、固定裝置(2)和電源裝置(3)組成,其特征在于:所述的裝置本體(1)包括噴頭(4)、磁化器(5)和潛水泵(6),所述的噴頭(4)、磁化器(5)和潛水泵(6)通過螺紋依次連接成為一個整體;所述的裝置本體(1)固定連接在固定裝置(2)上;所述的噴頭(4)上設有噴孔(7);所述的固定裝置(2)包括固定板(8)和漂浮圓環(9),所述的固定板(8)安裝于漂浮圓環(9)之上;所述的裝置本體(1)上的噴頭(4)露出在固定板(8)上面,位于水面之上,所述的磁化器(5)和潛水泵(6)隱蔽在固定板(8)下面,位于水面之下;所述的電源裝置(3)包括導線(10)、電源(11)和開關(12),所述的電源裝置(3)通過導線(10)與潛水泵(6)相連。
2.根據權利要求1所述的景觀水處理裝置,其特征在于:所述的噴頭(4)上的噴孔(7)包括柱狀噴孔(13)和傘狀噴孔(14)。
3.根據權利要求1所述的景觀水處理裝置,其特征在于:所述的漂浮圓環(9)采用金屬材料制成,中空,全密封。
4.根據權利要求1所述的景觀水處理裝置,其特征在于:所述的磁化器(5)由幾對強磁體組成,強磁體粘附于鋼管內壁,呈螺旋狀排列。
5.根據權利要求1所述的景觀水處理裝置,其特征在于:所述的固定板(8)通過焊接或固定螺栓(15)的方式安裝于漂浮圓環(9)之上;所述的固定板(8)的形狀為圓形。
一般景觀水池的水源主要來自自來水、再生水、河水以及雨水的補充。除自來水外其他源水水質質量得不到保證。人造景觀還具有“公共性”和“親人性”的特質,造成水質污染較快。開放式的環境,經常人為的將一些污染物帶入景觀水體。大多數景觀水體都是半封閉或基本封閉的系統,這使得景觀水體自凈能力很弱。現有的景觀水處理方法大致有生化技術、氣浮技術、跌水曝氣、過濾技術、動植物生態處理技術、人工濕地技術等等。工程上常見的方法包括:循環過濾法、化學藥劑法、跌水曝氣法、氣浮法和生態系統凈化法。這些方法一定程度上都需要占用土地資源或者添加了化學藥劑產生二次污染,生態處理法控制不得當會造成后續環境污染,也需要專職人員日常維護,不經濟。
實用新型內容
本實用新型解決了上述現有技術中的不足,提供一種景觀水處理裝置,設計合理、操作簡便、成本低廉,對環境的影響小,減少人工的維護。
本實用新型解決其技術問題所采用的技術方案是:這種景觀水處理裝置,該裝置由裝置本體、固定裝置和電源裝置組成,所述的裝置本體包括噴頭、磁化器和潛水泵,所述的噴頭、磁化器和潛水泵通過螺紋依次連接成為一個整體;所述的裝置本體固定連接在固定裝置上;所述的噴頭上設有噴孔;所述的固定裝置包括固定板和漂浮圓環,所述的固定板安裝于漂浮圓環之上;所述的裝置本體上的噴頭露出在固定板上面,位于水面之上,所述的磁化器和潛水泵隱蔽在固定板下面,位于水面之下;所述的電源裝置包括導線、電源和開關,所述的電源裝置通過導線與潛水泵相連。
所述的噴頭上的噴孔包括柱狀噴孔和傘狀噴孔。
所述的漂浮圓環采用金屬材料制成,中空,全密封。
所述的磁化器由幾對強磁體組成,強磁體粘附于鋼管(磁性材料)內壁,呈螺旋狀排列。
所述的固定板通過焊接或螺栓的方式安裝于漂浮圓環之上,所述的固定板的形狀為圓形。
本實用新型的有益效果是,本實用新型通過設計循環水處理裝置來實現景觀池中的水循環,水經磁化后,殺死水體中的細菌、藻類細胞,噴頭噴出的噴泉水霧使水體充氧,氧化水體中有機物,同時使水體產生流動性,活化水體,使景觀水池中的水凈化,并形成噴泉景觀效果。這樣的設計結構簡單,易于安裝;能耗低,整個裝置只需使用電能;無需額外占用土地資源,占用水池面積小,且兼帶噴泉景觀效果,美觀;無需人工操作、護理,系統可長期保持穩定運行,節省維護管理費用;不使用藥物,避免化學修復形成的“二次污染”。

污水處理設備聯系方式:
銷售熱線:010-8022-5898
手機號碼:186-1009-4262





