今天為大家介紹的是——廢水固液分離設備,下面是具體內容。
廢水固液分離設備及其分離方法,屬于污水處理技術領域。固液分離柜的內設有多個多層過濾部件,多層過濾部件四個側壁分別為三面篩網和一個出料門,底板為底板篩網;多層過濾部件頂部設置有進水布水管;多層過濾部件下方為集水區;集水區通過集水管連接厭氧布水管,厭氧布水管安裝在上流式厭氧反應罐內;上流式厭氧反應罐上方連接泥水分離池;泥水分離池底部與上流式厭氧反應罐連接處設置有污泥斗;泥水分離池還設有泥渣出管,泥渣出管與吸泥泵連接;泥水分離池頂部還設置有出水口。本發明提供綜合解決豬場廢水的預處理中泥渣和膠體物,比較終從出水管出來的水,將不帶泥,水中膠體也少甚至沒有,減少后續污水處理難度。

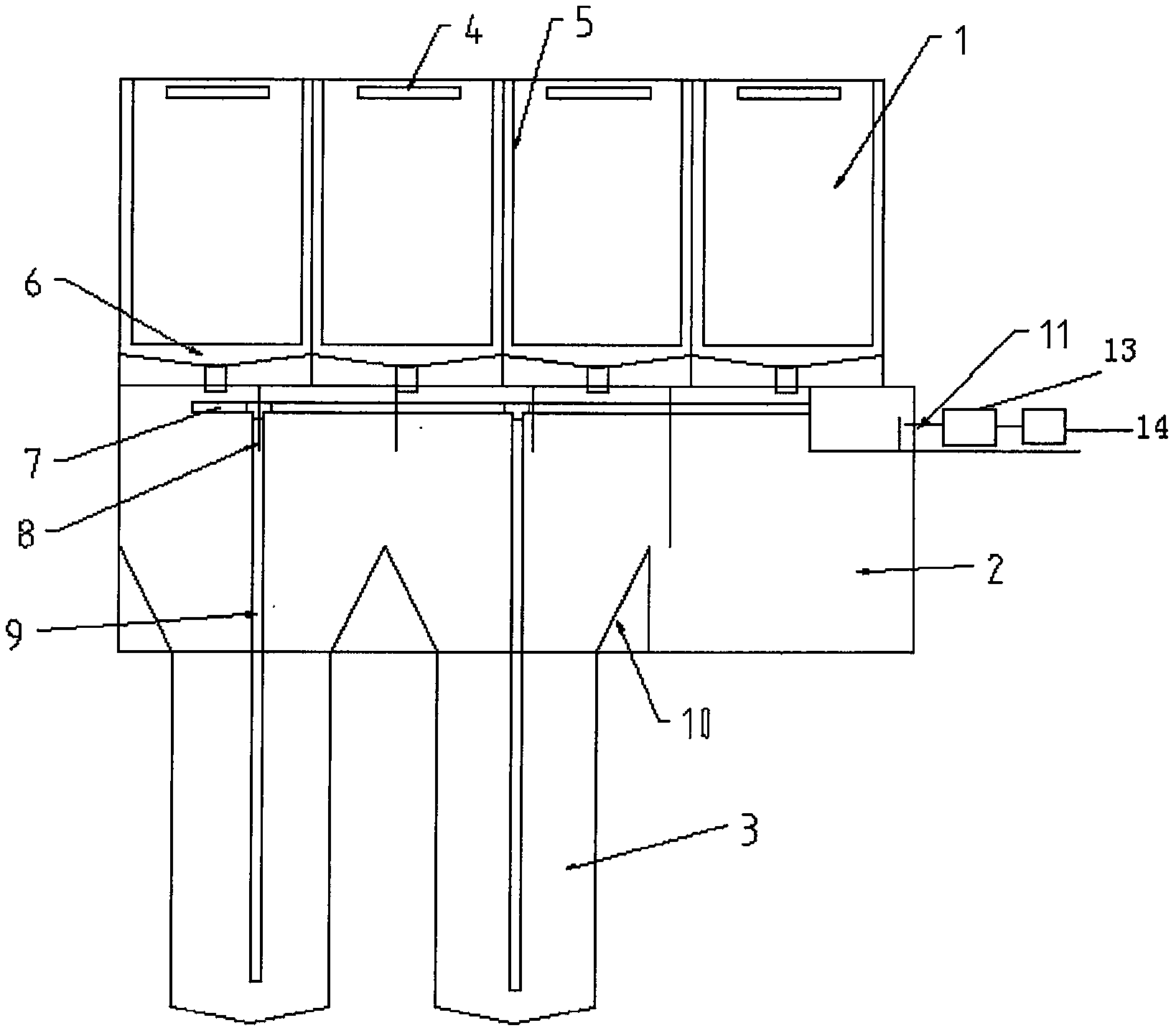
1.一種廢水固液分離設備,其特征在于,包括固液分離柜(1)、泥水分離池(2)和上流式厭氧反應罐(3);
所述的固液分離柜(1)的內設有多個多層過濾部件(5),所述的多層過濾部件(5)包括底板和四個側壁,所述的四個側壁分別為三面篩網和一個出料門,所述的底板為底板篩網;多層過濾部件(5)頂部設置有進水布水管(4);
多層過濾部件(5)下方為集水區(6);集水區(6)通過集水管(7)連接厭氧布水管(9),所述的厭氧布水管(9)安裝在上流式厭氧反應罐(3)內;上流式厭氧反應罐(3)上方連接泥水分離池(2);泥水分離池(2)底部與上流式厭氧反應罐(3)連接處設置有污泥斗(10);泥水分離池(2)還設有泥渣出管(12),泥渣出管(12)與吸泥泵連接;泥水分離池(2)頂部還設置有出水口(11);
其中,所述的出水口(11)處連接有流量監測設備(13)和傳感器(14)。
2.根據權利要求1所述的一種廢水固液分離設備,其特征在于,所述的固液分離柜(1)的內設有四個多層過濾部件(5),四個多層過濾部件(5)并列安裝,依次輪流使用。
3.根據權利要求1所述的一種廢水固液分離設備,其特征在于,所述的上流式厭氧反應罐(3)有兩個,并列安裝在泥水分離池(2)下方,每個上流式厭氧反應罐(3)分別配置一個污泥斗(10)。
4.根據權利要求1所述的一種廢水固液分離設備,其特征在于,所述的泥水分離池(2)內設置有泥渣格板(8),所述的泥渣格板(8)有多個,垂直的安裝在泥水分離池(2)內的上方。
5.根據權利要求1所述的一種廢水固液分離設備,其特征在于,多層過濾部件(5)三面篩網孔徑為3~5mm,底板的底板篩網孔徑為2~3mm。
6.根據權利要求1所述的一種廢水固液分離設備,其特征在于,所述的泥渣出管(12)連接有感應器,以便于監測堵塞情況。
7.根據權利要求1到6任一項所述的一種廢水固液分離設備的分離方法,其特征在于,包括以下過程:
廢水經進水布水管(4)流入固液分離罐(1)的多層過濾部件(5),粗顆粒停留于底板篩網上形成濾料;
經過多層過濾部件(5)過濾的出水經集水管(7)流入厭氧布水管(9)進入上流式厭氧反應罐(3),上流式厭氧反應罐(3)內裝有厭氧污泥;污水經過厭氧污泥層,在厭氧菌的作用下污水中膠態物從水中脫離出,脫離出來的膠狀物和部分的細小懸浮物,與厭氧產生的氣體一起上升進入泥水分離池(2)內;
膠狀物和懸浮物,在附著氣體的作用進入泥水分離池(2)內,隨之浮于水面,后續上升的泥渣顆粒在泥水分離池(2)內附著在之前浮于水面的泥渣層底部;浮于泥水分離池(2)上的泥渣,由泥渣出管(12)定期由吸泥泵抽出。
8.根據權利要求7所述的一種廢水固液分離設備的分離方法,其特征在于,部分泥渣沉至污泥斗(10)壁上,回沉于上流式厭氧反應罐(3)內。
目前豬場廢水的固液分離多采用機械(或帶振動式)固液分離機進行粗式分離,其分離出來的水具有明顯的特點:出水混濁,懸濁液高,多以不溶物和膠狀態。以該態廢水進入后續生化系統,經厭氧發酵,其膠狀物部分從水中分離出且以小顆料的形式懸浮于水中,厭氧出水水體懸物量大。后續經加藥,難以沉淀;若用帶式壓濾機,其沖洗濾布帶來的反沖水量大,使原水量加大50%以上,同時帶來的經濟負擔;或用氣浮機來實現其泥水分離,由于其泥量大(含固率約為3%),此時氣浮機的效率也較低,運行費用也較高。因此厭氧出水泥水分離不解決,后續好氧系統隨之帶來更嚴重問題,即供氧量不足,由水中前期帶來大量的泥渣,使之好氧系統池內有大量的泡沫產生,其需要大量消泡,運行工作難度大。
發明內容
針對上述技術問題,本發明提供一種水浮式固液分離設備,以解決之前經機械固液分離帶來的后續一系列問題。需解決的問題:
1、實現水中膠狀物在設備內自動從水中脫離出;
2、實現水體中泥渣自動上浮,靜于池液面;
3、實現泥水徹底分離,使之出水不帶或少帶泥出水。
具體的技術方案為:
一種廢水固液分離設備,包括固液分離柜、泥水分離池和上流式厭氧反應罐;
所述的固液分離柜的內設有多個多層過濾部件,所述的多層過濾部件包括底板和四個側壁,所述的四個側壁分別為三面篩網和一個出料門,所述的底板為底板篩網;多層過濾部件頂部設置有進水布水管;
多層過濾部件下方為集水區;集水區通過集水管連接厭氧布水管,所述的厭氧布水管安裝在上流式厭氧反應罐內;上流式厭氧反應罐上方連接泥水分離池;所述的泥水分離池內設置有泥渣格板,泥水分離池底部與上流式厭氧反應罐連接處設置有污泥斗;泥水分離池還設有泥渣出管,泥渣出管與吸泥泵連接;泥水分離池頂部還設置有出水口。
具體的,所述的固液分離柜的內設有四個多層過濾部件,四個多層過濾部件并列安裝,依次輪流使用。
進一步的,所述的上流式厭氧反應罐有兩個,并列安裝在泥水分離池下方,每個上流式厭氧反應罐分別配置一個污泥斗。
所述的泥渣格板有多個,垂直的安裝在泥水分離池內的上方。
多層過濾部件三面篩網孔徑為3~5mm,底板的底板篩網孔徑為2~3mm。
可替換地,所述的多層過濾部件為比較外層的陶瓷梯度模和與廢水直接接觸的2-3層厚度在3-5厘米的PP棉。
可替換地,所述的多層過濾部件為比較外層還可以包括:固液分離網,固液分離網上方設置有抽油孔;優選地,固液分離網內部采用不銹鋼絲網聚結填料,殼體用鋼,使用壓力為0.8Mpa-1.5Mpa。其中,比較優選的指標為:不銹鋼絲網聚結填料分為上下兩盤,交錯45-90度疊放使用,比表面積(平方米/立方米)25-60,堆放比重100-110千克/立方米,空隙率95-97%。
固液分離網原理是利用旋風與不銹鋼絲網捕霧的有機結合,同時采用直接攔截、慣性碰撞、布朗擴散及凝聚等機理,非常有效。當含有油和水的液體通入油水分離器,大液滴在重力作用下落到油水分離器底部,霧狀小液滴被絲網捕獲凝結成大液滴落到油水分離器底部,夾帶的的液體因此被分離出來,這是本發明的發明點之一,發明人經過了多次測試,發現使用壓力為0.8Mpa-1.5Mpa,更優選地,發明人發現,按照比例為質量的0.05-0.08%向含固項污染物的污水中投放絮凝劑或聚集劑,其中絮凝劑可使油凝聚成凝膠體而沉淀,而聚集劑則使油凝聚成膠體使其上浮,起到很好的輔助作用,其中絮凝劑優選:硫酸鋁、氯化鋁、硫酸鐵、氯化鐵,其使用量分別為:加入量為總質量的百分之0.05,0.055,0.06和0.08,這是發明人經過了多年的實驗所得的數據,為比較優值。
其中,所述的出水口處連接有流量監測設備和傳感器,這是本發明的一個發明點,流量監測設備可以一直檢測廢水濃度,在實際的生產中,經常會出現廢水中有高濃度雜物的情況,這樣會堵塞水管,而增加了流量監測設備后,一旦發現流速異常,則可以通過傳感器停止廢水供料并發出報警,便于工人維修,經過增加了這個監測設備,使得生產事故的發生幾率大大降低,這是本發明的發明點之一。
其中,泥渣出管連接有感應器,以便于監測堵塞情況。
該固液分離設備的分離方法,包括以下過程:
廢水經進水布水管流入固液分離罐的多層過濾部件,粗顆粒停留于底板篩網上形成濾料;
經過多層過濾部件過濾的出水經集水管流入厭氧布水管進入上流式厭氧反應罐,上流式厭氧反應罐內裝有厭氧污泥;污水經過厭氧污泥層,在厭氧菌的作用下污水中膠態物從水中脫離出,脫離出來的膠狀物和部分的細小懸浮物,與厭氧產生的氣體一起上升進入泥水分離池內;
膠狀物和懸浮物,在附著氣體的作用進入泥水分離池內,隨之浮于水面,后續上升的泥渣顆粒在泥水分離池內附著在之前浮于水面的泥渣層底部;浮于泥水分離池上的泥渣,由泥渣出管定期由吸泥泵抽出。
部分泥渣沉至污泥斗壁上,回沉于上流式厭氧反應罐內。
本發明提供的固液分離設備及其分離方法,綜合解決豬場廢水的預處理中泥渣和膠體物,比較終從出水管出來的水,將不帶泥,水中膠體也少甚至沒有,減少后續污水處理難度。

污水處理設備聯系方式:
銷售熱線:010-8022-5898
手機號碼:186-1009-4262





