本實用新型公開了一種充分利用污水的節水系統,其技術方案要點是包括蓄水箱和馬桶,每層樓層均設有蓄水箱和馬桶,并且馬桶低于同一樓層的蓄水箱,蓄水箱頂部固定連接有污水管,污水管另一端連接有用于收集污水的污水口,蓄水箱底部連接有用于向馬桶提供沖刷用水的沖水管。將生活污水和雨水儲存起來用于沖刷馬桶,實現了污水的再次利用,達到了節約用水的目的。
摘要附圖

權利要求書
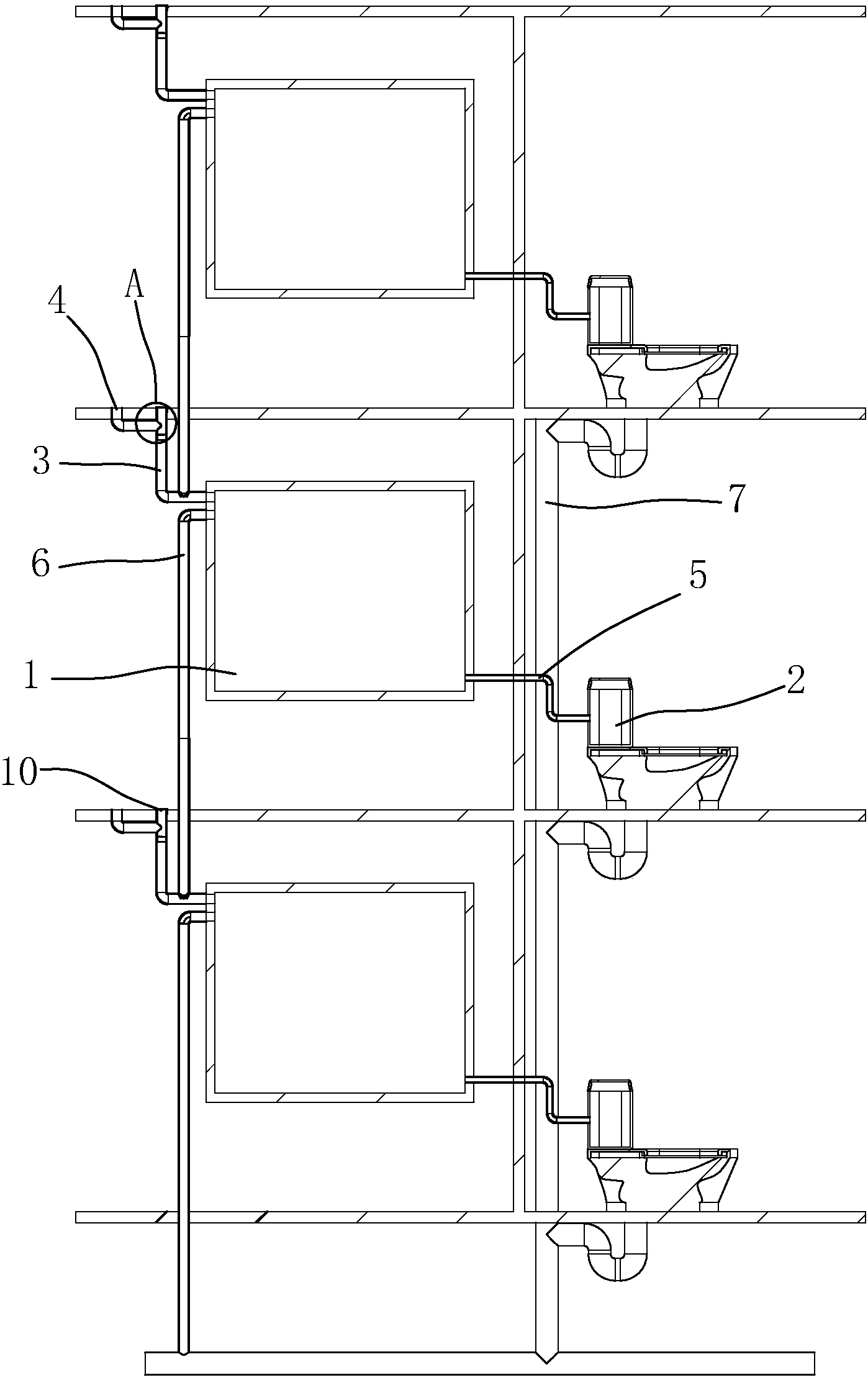
1.一種充分利用污水的節水系統,包括蓄水箱(1)和馬桶(2),所述蓄水箱(1)和馬桶(2)按樓層分布,所述馬桶(2)低于同一樓層的蓄水箱(1),其特征是:所述蓄水箱(1)頂部固定連接有污水管(3),所述污水管(3)另一端連接有污水口(4),所述污水口(4)從上一樓層收集生活污水或雨水,所述蓄水箱(1)底部連接有沖水管(5),所述沖水管(5)連接于同一樓層的馬桶(2)。
2.根據權利要求1所述的一種充分利用污水的節水系統,其特征是:所述蓄水箱(1)頂部連接有溢水管(6),所述溢水管(6)連接于下一樓層的蓄水箱(1)上的污水管(3)。
3.根據權利要求2所述的一種充分利用污水的節水系統,其特征是:所述馬桶(2)底部連接有排污管(7),所述位于比較底層的溢水管(6)連接于排污管(7)。
4.根據權利要求1所述的一種充分利用污水的節水系統,其特征是:所述污水管(3)內設置有濾網(8)和活性炭(9)。
5.根據權利要求4所述的一種充分利用污水的節水系統,其特征是:所述污水管(3)側邊開口并向上凸出形成清掃口(10),所述清掃口(10)插接有凈化盒(11),所述凈化盒(11)底部設置有活性炭(9),所述活性炭(9)上方設置有濾網(8),所述凈化盒(11)底部開有用于漏水并連通污水管(3)的漏水孔(13),所述凈化盒(11)一側開有連通污水管(3)的凈化口(12)。
6.根據權利要求5所述的一種充分利用污水的節水系統,其特征是:所述濾網(8)低于凈化口(12)。
7.根據權利要求5所述的一種充分利用污水的節水系統,其特征是:所述清掃口(10)用封蓋(14)蓋住,所述清掃口(10)設置有內螺紋(15),所述封蓋(14)設置有與內螺紋(15)螺紋配合的外螺紋(16),所述封蓋(14)螺紋固定于清掃口(10)。
8.根據權利要求5所述的一種充分利用污水的節水系統,其特征是:所述凈化盒(11)頂端向外凸出有卡環(17),所述卡環(17)抵接于清掃口(10)。
9.根據權利要求5所述的一種充分利用污水的節水系統,其特征是:所述凈化盒(11)側邊凸出有導條(19),所述污水管(3)內壁凹陷有與導條(19)滑接配合的導槽(18)。
說明書
一種充分利用污水的節水系統
技術領域
本實用新型涉及一種節水系統,更具體地說,它涉及一種充分利用污水的節水系統。
背景技術
隨著社會的進步,人們的生活基礎設施也越來越完善。現在人們大多生活在高樓大廈中,每一層每一單元都設置了獨立的衛生間和廚房,在每天使用大量的水資源的同時也產生了大量的生活污水。但是,像雨水、洗手水、洗菜水和洗澡水等所謂的污水雖然達不到自來水的衛生條件,用來沖刷馬桶是完全可以的。如果將這些污水利用起來,對于水資源的節約將會起到很大的作用。
公開號為CN1523171A的中國發明公開了一種樓房生活污水二次利用方法及其系統,該系統在樓房建筑物內增加一與地下集水處理池相通的底層根污水收集管;在樓房的頂部設置一與樓內廁所便器水箱接通的蓄水箱;地下集水處理池內設有潛水泵,通過潛水泵將地下集水處理池內處理后的水泵入樓房頂部的蓄水箱。
但是該系統需要從地下集水處理池抽水,還需要耗費額外的電能,而需要二次利用的污水經常攜帶著垃圾,如不定時清理長期積累下來的垃圾會堵塞管道。
實用新型內容
本實用新型的目的是提供一種充分利用污水的節水系統,具有回收利用雨水和生活污水的優點。
本實用新型的上述技術目的是通過以下技術方案得以實現的:一種充分利用污水的節水系統,包括蓄水箱和馬桶,所述蓄水箱和馬桶按樓層分布,所述馬桶低于同一樓層的蓄水箱,所述蓄水箱頂部固定連接有污水管,所述污水管另一端連接有污水口,所述污水口從上一樓層收集生活污水或雨水,所述蓄水箱底部連接有沖水管,所述沖水管連接于同一樓層的馬桶。
通過采用上述技術方案,污水口從上一樓層收集生活污水或雨水,然后經污水管進入蓄水箱進行蓄水,當馬桶需要沖水時,由于蓄水箱與馬桶的高度差,打開馬桶的沖水開關后水會從蓄水箱進入沖水管進而對馬桶進行沖刷,不需要額外的能源輸入,實現了對污水的再次利用。
優選的,所述蓄水箱頂部連接有溢水管,所述溢水管連接于下一樓層的蓄水箱上的污水管。
通過采用上述技術方案,當蓄水箱的水蓄滿時,水從溢水管流進下一樓層的污水管中,然后到達下一樓層的蓄水箱中進行蓄水,保證污水的充分利用。
優選的,所述馬桶底部連接有排污管,所述位于比較底層的溢水管連接于排污管。
通過采用上述技術方案,位于比較底層的蓄水箱在蓄滿水時經溢水管向排污管排水,減少因位于比較低位的蓄水箱在滿水時水溢出而影響環境的情況。
優選的,所述污水管內設置有濾網和活性炭。
通過采用上述技術方案,由于污水里還攜帶著垃圾或者帶有刺鼻的氣味,濾網和活性炭能對污水進行過濾和凈化,以防管道被垃圾堵塞或沖刷馬桶所用的水帶有刺鼻的氣味。
優選的,所述污水管側邊開口并向上凸出形成清掃口,所述清掃口插接有凈化盒,所述凈化盒底部設置有活性炭,所述活性炭上方設置有濾網,所述凈化盒底部開有用于漏水并連通污水管的漏水孔,所述凈化盒一側開有連通污水管的凈化口。
通過采用上述技術方案,污水通過凈化口進入凈化盒可以在凈化盒里的凈化盒和濾網中進行過濾和凈化,并且凈化盒可以從污水管中拆卸出來,方便清理被濾網過濾掉的垃圾,減少因被過濾的垃圾堆積而堵塞污水管的情況。
優選的,所述濾網低于凈化口。
通過采用上述技術方案,使更多的污水先經過過濾和凈化再進入蓄水箱,減少因濾網高于凈化口而使污水得不到充分過濾和凈化的情況。
優選的,所述清掃口用封蓋蓋住,所述清掃口設置有內螺紋,所述封蓋設置有與內螺紋螺紋配合的外螺紋,所述封蓋螺紋固定于清掃口。
通過采用上述技術方案,封蓋蓋住污水管上的開口,減少因外面的垃圾或灰塵進入污水管從而堵塞管道的情況。
優選的,所述凈化盒頂端向外凸出有卡環,所述卡環抵接于清掃口。
通過采用上述技術方案,使卡環抵接于清掃口,減少了凈化盒掉進污水管從而堵塞污水管的情況。
優選的,所述凈化盒側邊凸出有導條,所述污水管內壁凹陷有與導條滑接配合的導槽。
通過采用上述技術方案,在安裝安裝管時,需要將凈化口對準污水管,而導槽與導條的滑接配合方便了安裝人員對準凈化口和污水管,使安裝管的安裝更方便,同時導槽和導條能固定凈化盒和污水管的相對位置,減少了因凈化盒被轉動而使凈化口與污水管錯開,從而堵塞管道的情況。
綜上所述,本實用新型具有以下有益效果:污水口從上一樓層收集生活污水或雨水,然后經污水管并在污水管中的凈化盒中進行過濾和凈化氣味,凈化后的污水進入蓄水箱進行蓄水;需要沖刷馬桶時,按下沖刷馬桶的開關污水會在重力作用下流進沖水管進而對馬桶進行沖刷,沖刷馬桶后的污水從排污管排走,實現污水的再次利用;當蓄水箱蓄滿水時水會從溢水管中經下一樓層的污水管流向下一樓層的蓄水箱進行蓄水,實現污水的充分利用,或流向排污管以免影響環境;當被過濾掉的垃圾達到一定量時取出凈化盒并對里面的垃圾進行清掃,減少因垃圾積累過多的堵塞管道的情況;對污水的利用也不需要耗費額外的能量。





