摘要
本實用新型公開了一種用于污泥焚燒發電的干化預處理裝置,包括進泥口、儲泥倉、振動篩、筒體、上封頭、下封頭、定盤、動盤、鈀齒、旋轉軸、蒸汽入口、冷凝水出管、帶式管箍、排氣管、出料口、卸料孔、電磁閥、冷凝器、活性炭吸附柜、管道、放空管、冷凝水進水口、冷凝水出水口、冷凝水循環管。與現有技術相比,本實用新型的有益效果在于:本實用新型結構簡單,通過空腔結構加快污泥干化,通過結構設計,優化污泥顆粒運動路徑和換熱效果,提高干化效果、降低能源消耗。
摘要附圖

權利要求書
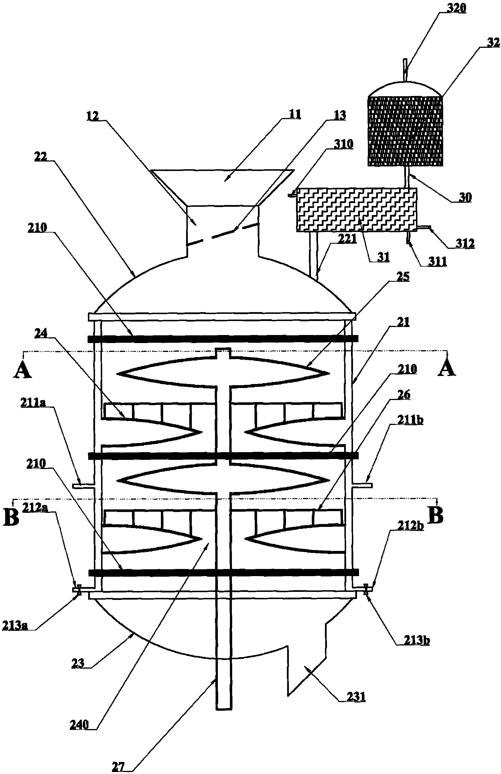
1.一種用于污泥焚燒發電的干化預處理裝置,其特征在于:包括:進泥口(11)、儲泥倉(12)、振動篩(13)、筒體(21)、上封頭(22)、下封頭(23)、定盤(24)、動盤(25)、鈀齒(26)、旋轉軸(27)、蒸汽入口(211a)、第二蒸汽入口(211b)、冷凝水出管(212a)、第二冷凝水出管(212b)、帶式管箍(210)、排氣管(221)、出料口(231)、卸料孔(240)、電磁閥(213a)、第二電磁閥(213b)、冷凝器(31)、活性炭吸附柜(32)、管道(30)、放空管(320)、冷凝水進水口(310)、冷凝水出水口(311)、冷凝水循環管(312)、進泥口(11)、儲泥倉(12)組成進料系統;筒體(21)、上封頭(22)、下封頭(23)組成污泥干化筒;冷凝器(31)和活性炭吸附柜(32)組成空氣凈化系統;污泥干化筒中安裝有定盤(24)、動盤(25)、鈀齒(26)、旋轉軸(27);儲泥倉(12)上部設有進泥口(11),儲泥倉(12)中設有振動篩(13);筒體(21)側壁設有蒸汽入口(211a)、第二蒸汽入口(211b)和冷凝水出管(212a)、第二冷凝水出管(212b);筒體(21)上中下均設有帶式管箍(210);上封頭(22)上以法蘭密封安裝有排氣管(221);儲泥倉(12)通過法蘭密封連接于上封頭(22)的中心;下封頭(23)底部中心設有出料口(231);上封頭(22)、下封頭(23)均以法蘭密封連接于筒體(21)上;定盤(24)中心預留有卸料孔(240);冷凝水出管(212a)、第二冷凝水出管(212b)上分別設有電磁閥(213a)、第二電磁閥(213b);排氣管(221)通過螺紋連接于冷凝器(31),冷凝器(31)通過管道(30)與活性炭吸附柜(32)連通,活性炭吸附柜(32)上設有放空管(320),冷凝器(31)上設有冷凝水進水口(310)、冷凝水出水口(311)和冷凝水循環管(312)。
2.根據權利要求1所述的一種用于污泥焚燒發電的干化預處理裝置,其特征是,所述的筒體為兩半圓柱中空結構,中空結構中通有熱蒸汽,兩半圓柱通過鉸鏈鉸接,兩半圓柱的接觸面采用楔形槽密封。
3.根據權利要求1所述的一種用于污泥焚燒發電的干化預處理裝置,其特征是,所述的定盤為中心薄周邊厚的中空結構,水平焊接于所述的筒體的內壁面上,且所述的定盤和所述的筒體的內部空腔相連通,內部空腔中通有熱蒸汽。
4.根據權利要求1所述的一種用于污泥焚燒發電的干化預處理裝置,其特征是,所述的動盤為中心厚周邊薄的中空結構,水平焊接于所述的旋轉軸,所述的動盤與所述的旋轉軸的內部空腔相連通,內部空腔中通有熱蒸汽。
5.根據權利要求1所述的一種用于污泥焚燒發電的干化預處理裝置,其特征是,所述的旋轉軸為中空結構,中空結構中通有熱蒸汽,所述的旋轉軸上水平焊接有所述的動盤和所述的鈀齒。
說明書
一種用于污泥焚燒發電的干化預處理裝置
技術領域
本實用新型涉及一種污泥干化裝置,屬環保技術領域,尤其涉及一種用于污泥焚燒發電的干化預處理裝置。
背景技術
剩余污泥是活性污泥法處理廢水過程中的一個重要副產物,含有大量的有機物、動物/微生物殘體、植物纖維素等,具有資源化和能源化利用的潛質。由于剩余污泥含有大量的水分,在資源化或能源化利用過程中,必須對其進行脫水和干化處理,因此,剩余污泥的脫水和干化一直是城市生活污水剩余污泥處理的研究熱點。城市生活污水處理廠剩余污泥的含水率在99.5%左右,具有良好的流動性,城市生活污水處理廠通常采用機械壓濾的方法對污泥進行初步處理后再進行后續的處理,但機械壓濾后的剩余污泥含水率依然在80~85%,若直接用于焚燒發電,剩余污泥中的水分會因為氣化而造成大量的氣化熱損失,大大降低了剩余污泥的能源轉化效率,因此,在污泥焚燒發電前,一般會對脫水后的污泥進一步進行干化處理。
脫水和干化是降低城市生活污水剩余污泥含水率的典型方法,污泥的干化是利用熱物理的原理,對污泥中的水分進行排除,從而達到降低污泥含水率的目的,污泥干化技術中能量是凈支出形式,而且在干化過程中消耗能量的多少是評價干化技術優劣的關鍵標準之一。常用的污泥干化技術有污泥干化場、太陽能干化和外加熱源干化,污泥干化場和太陽能干化技術通過自然通風、重力作用和太陽能對污泥進行干化,這類技術的主要缺點是干化時間長,效率低,易受天氣和氣候的影響,易造成空氣污染。外加熱源干化技術則需要提供額外的熱源,加速污泥中水分的蒸發,實現污泥的干化,這類技術需要額外提供熱源,當污泥干化場附近有工業余熱時可以優先使用,在缺乏工業余熱的情況下,可以通過優化能源供給方式、改良干化工藝提高干化效果、降低能源消耗。
實用新型內容
本實用新型的目的就在于為了解決現有城市生活污水剩余污泥干化裝置能耗高、易產生臭氣、脫水效率低的缺點而提供一種用于污泥焚燒發電的干化預處理裝置。
本實用新型通過以下技術方案來實現上述目的:一種用于污泥焚燒發電的干化預處理裝置,包括進料系統1、污泥干化筒2、空氣凈化系統3。所述的進料系統1由進泥口11、儲泥倉12組成。所述的污泥干化筒2由筒體21、上封頭22、下封頭23組成,所述的污泥干化筒中安裝有定盤24、動盤25、鈀齒26、旋轉軸27。所述的空氣凈化系統由冷凝器31和活性炭吸附柜32組成。所述的儲泥倉12上部設有所述的進泥口11,所述的儲泥倉12中設有振動篩13;所述的筒體21側壁設有蒸汽入口211a、第二蒸汽入口211b和冷凝水出管212a、第二冷凝水出管212b,所述的筒體21上中下均設有帶式管箍210;所述的上封頭22上以法蘭密封安裝有排氣管221;所述的儲泥倉12通過法蘭密封連接于所述的上封頭22的中心;所述的下封頭23底部中心設有出料口231;所述的上封頭22、下封頭23均以法蘭密封連接于筒體21上;所述的定盤24中心預留有卸料孔240;所述的冷凝水出管212a、第二冷凝水出管212b上設有電磁閥213a、第二電磁閥213b;所述的排氣管221通過螺紋連接于冷凝器31,冷凝器31通過管道30與活性炭吸附柜32連通,活性炭吸附柜32上設有放空管320,冷凝器31上設有冷凝水進水口310、冷凝水出水口311和冷凝水循環管312。
進一步的,所述的筒體21為兩半圓柱結構,通過鉸鏈鉸接,兩半圓柱的接觸面采用楔形槽密封。
進一步的,所述的筒體21、定盤24、動盤25、旋轉軸27均為中空結構,內部均通有熱蒸汽。
進一步的,所述定盤24水平焊接于筒體21的內壁面上,且所述的定盤24和筒體21的內部空腔相連通。
進一步的,所述的旋轉軸27上水平焊接有動盤25和鈀齒26。
進一步的,所述的動盤25、鈀齒26、定盤24自上而下交錯分布。
進一步的,所述的動盤25與所述的旋轉軸27的內部空腔相互連通。
進一步的,所述的動盤25中心厚周邊薄,所述的定盤24中心薄周邊厚。
進一步的,所述的旋轉軸27與蒸汽管道采用機械旋轉密封結構密封。
本實用新型的有益效果在于:本實用新型結構簡單,通過空腔結構加快污泥干化,通過結構設計,優化污泥顆粒運動路徑和換熱效果,提高干化效果、降低能源消耗。





