本發明涉及一種污水取樣裝置,包括取樣器以及瞄準裝置;所述取樣器包括上機械室以及下集液室;上機械室沿其內壁四周均勻設置有若干個伸縮驅動室;所述伸縮驅動室遠離上機械室一側設置伸縮桿;所述伸縮桿穿入伸縮驅動室與伸縮驅動室內的驅動主件連接;所述驅動主件用于驅動伸縮桿伸長與縮回;所述伸縮桿末端連接有抽水室;所述抽水室內設置有抽水泵;所述抽水泵連接有一硬管;所述硬管穿過伸縮桿末端端壁與設置于伸縮桿尾部內的液體傳送室連通;所述液體傳送室通過伸縮桿內部的軟管與下集液室連通;所述瞄準裝置用于驅動取樣器移至所需要取樣的水域。

權利要求書
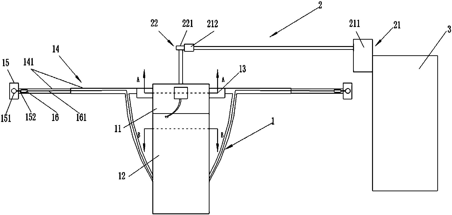
1.一種污水取樣裝置,其特征在于:包括取樣器(1)以及瞄準裝置(2);所述取樣器(1)包括上機械室(11)以及下集液室(12);上機械室(11)沿其內壁四周均勻設置有若干個伸縮驅動室(13);所述伸縮驅動室(13)遠離上機械室(11)一側設置伸縮桿(14);所述伸縮桿(14)穿入伸縮驅動室(13)與伸縮驅動室(13)內的驅動主件(4)連接;所述驅動主件(4)用于驅動伸縮桿(14)伸長與縮回;所述伸縮桿(14)末端連接有抽水室(15);所述抽水室(15)內設置有抽水泵(151);所述抽水泵(151)連接有一硬管(152);所述硬管(152)穿過伸縮桿(14)末端端壁與設置于伸縮桿(14)尾部內的液體傳送室(16)連通;所述液體傳送室(16)通過伸縮桿(14)內部的軟管(161)與下集液室(12)連通;所述瞄準裝置(2)用于驅動取樣器(1)移至所需要取樣的水域。
2.根據權利要求1所述的污水回收處理裝置,其特征在于:所述瞄準裝置(2)包括液壓裝置(21)以及第二液壓裝置(22);液壓裝置(21)與一固定設備(3)連接;所述液壓裝置(21)包括液壓缸(211);所述液壓缸(211)的液壓桿連接有一固定塊(212)且液壓缸(211)的液壓桿與地面平行;所述第二液壓裝置(22)位于固定塊(212)上;所述第二液壓裝置(22)包括第二液壓缸(221);所述第二液壓缸(221)的液壓桿與上機械室(11)上端面連接且第二液壓缸(221)的液壓桿與液壓缸(211)的液壓桿垂直設置。
3.根據權利要求1所述的污水回收處理裝置,其特征在于:所述瞄準裝置(2)包括液壓裝置(21)以及第二液壓裝置(22);液壓裝置(21)與一固定設備(3)連接;所述液壓裝置(21)包括液壓缸(211);所述液壓缸(211)的液壓桿連接有一固定塊(212)且液壓缸(211)的液壓桿與地面平行;所述第二液壓裝置(22)位于固定塊(212)上;所述第二液壓裝置(22)包括第二液壓缸(221);所述第二液壓缸(221)的液壓桿一端設置有第二固定塊(213);所述第二固定塊(213)下端面設置有電機(214);所述電機(214)的轉軸與上機械室(11)上端面設置有的圓形轉盤(112)連接。
4.根據權利要求1所述的污水回收處理裝置,其特征在于:所述伸縮桿(14)包括多節依次套設的空心桿(141);比較外節空心桿(141)兩端密封。
5.根據權利要求1所述的污水回收處理裝置,其特征在于:所述驅動主件(4)包括第二電機(131)、變速器(132)、蝸桿(133)、與蝸桿(133)嚙合的傳動齒輪(134)、轉輪(135)、齒條(136)以及齒條引導限位裝置(137);所述第二電機(131)通過變速器(132)帶動蝸桿(133)轉動;所述蝸桿(133)帶動傳動齒輪(134)轉動;所述轉輪(135)包括同心并列設置且相互固定連接的齒條齒輪(138)和載荷齒輪(139);所述傳動齒輪(134)與載荷齒輪(139)嚙合;所述齒條(136)纏繞在齒條齒輪(138)上并相互嚙合;所述齒條(136)一端沿齒條齒輪(138)外圓周切線方向伸出并依次穿過齒條引導限位裝置(137)、伸縮桿(14)與比較外節空心桿(141)一端壁連接。
6.根據權利要求5所述的污水回收處理裝置,其特征在于:所述傳動齒輪(134)包括同心并列設置且相互固定連接的轉輪傳動齒輪(142)和蝸桿傳動齒輪(144);所述轉輪傳動齒輪(142)與與載荷齒輪(139)嚙合;所述蝸桿傳動齒輪(144)與蝸桿(13)嚙合。
7.根據權利要求1-6中任一權利要求所述的污水回收處理裝置,其特征在于:所述下集液室(12)內設置有若干個集液槽(121);集液槽(121)底部與軟管(161)一一對應連通;所述集液槽(121)內上部設置有液位感應器(122)。
8.根據權利要求7所述的污水回收處理裝置,其特征在于:所述污水取樣裝置還包括用于控制電機(214)、第二電機(131)以及液位感應器(122)的控制器。
說明書
一種污水取樣裝置
技術領域
本發明涉及一種污水取樣裝置,屬于環保領域。
背景技術
隨著我國經濟的高速發展,科技發展,人民生活水平日益提高,工業污水和生活污水的排量也越來越大,而水資源又異常珍貴,如果對水資源不進行很好的監測與治理,這對環境和資源都會造成不好的影響。
如今正常的監測手段是通過對污水進行取樣,然后送去實驗室監測,比較近對其進行針對性的治理,當時現在的取樣裝置取樣的效率比較差,而且對于取樣的河流大小也有所要求,過大的河流取樣難度比較大,尤其是對大面積水域進行取樣時,無法進行多點取樣,在人工和時間成本上造成極大的支出。
發明內容
為了解決上述技術問題,本發明提供一種污水取樣裝置,提高了取樣的效率,而且河流大小對本裝置不會有任何取樣困難,尤其在大面積水域取樣時,可以實現同時多點取樣,在人工和時間成本減少了支出,提高了企業的經濟效益。
本發明的技術方案如下:
一種污水取樣裝置,包括取樣器以及瞄準裝置;所述取樣器包括上機械室以及下集液室;上機械室沿其內壁四周均勻設置有若干個伸縮驅動室;所述伸縮驅動室遠離上機械室一側設置伸縮桿;所述伸縮桿穿入伸縮驅動室與伸縮驅動室內的驅動主件連接;所述驅動主件用于驅動伸縮桿伸長與縮回;所述伸縮桿末端連接有抽水室;所述抽水室內設置有抽水泵;所述抽水泵連接有一硬管;所述硬管穿過伸縮桿末端端壁與設置于伸縮桿尾部內的液體傳送室連通;所述液體傳送室通過伸縮桿內部的軟管與下集液室連通;所述瞄準裝置用于驅動取樣器移至所需要取樣的水域。
其中,所述瞄準裝置包括液壓裝置以及第二液壓裝置;液壓裝置與一固定設備連接;所述液壓裝置包括液壓缸;所述液壓缸的液壓桿連接有一固定塊且液壓缸的液壓桿與地面平行;所述第二液壓裝置位于固定塊上;所述第二液壓裝置包括第二液壓缸;所述第二液壓缸的液壓桿與上機械室上端面連接且第二液壓缸的液壓桿與液壓缸的液壓桿垂直設置。
其中,所述瞄準裝置包括液壓裝置以及第二液壓裝置;液壓裝置與一固定設備連接;所述液壓裝置包括液壓缸;所述液壓缸的液壓桿連接有一固定塊且液壓缸的液壓桿與地面平行;所述第二液壓裝置位于固定塊上;所述第二液壓裝置包括第二液壓缸;所述第二液壓缸的液壓桿一端設置有第二固定塊;所述第二固定塊下端面設置有電機;所述電機的轉軸與上機械室上端面設置有的圓形轉盤連接。
其中,所述伸縮桿包括多節依次套設的空心桿;比較外節空心桿兩端密封。
其中,所述驅動主件包括第二電機、變速器、蝸桿、與蝸桿嚙合的傳動齒輪、轉輪、齒條以及齒條引導限位裝置;所述第二電機通過變速器帶動蝸桿轉動;所述蝸桿帶動傳動齒輪轉動;所述轉輪包括同心并列設置且相互固定連接的齒條齒輪和載荷齒輪;所述傳動齒輪與載荷齒輪嚙合;所述齒條纏繞在齒條齒輪上并相互嚙合;所述齒條一端沿齒條齒輪外圓周切線方向伸出并依次穿過齒條引導限位裝置、伸縮桿與比較外節空心桿一端壁連接。
其中,所述傳動齒輪包括同心并列設置且相互固定連接的轉輪傳動齒輪和蝸桿傳動齒輪;所述轉輪傳動齒輪與與載荷齒輪嚙合;所述蝸桿傳動齒輪與蝸桿嚙合。
其中,所述下集液室內設置有若干個集液槽;集液槽底部與軟管一一對應連通;所述集液槽內上部設置有液位感應器。
其中,所述污水取樣裝置還包括用于控制電機、第二電機以及液位感應器的控制器。
本發明具有如下有益效果:
1、本發明一種污水取樣裝置,提高了取樣的效率,而且河流大小對本裝置不會有任何取樣困難,尤其在大面積水域取樣時,可以實現同時多點取樣,在人工和時間成本減少了支出,提高了企業的經濟效益。
2、本發明一種污水取樣裝置,通過上機械室與伸縮桿的配合設置,實現了同時多點取樣的功能,提高了進行多處取樣的效率。
3、本發明一種污水取樣裝置,通過設置瞄準裝置,有效的解決了河流大小對取樣造成困難的問題。
4、本發明一種污水取樣裝置,通過圓形轉盤與電機配合設置,有效的提高了取樣器的取樣點的范圍。
5、本發明一種污水取樣裝置,集液室內設置有若干個集液槽實現了不同區域的污水樣品分類存放,防止不同區域污水混合造成的數據不準確。





