本發明提供了一種油田污水處理池,包括污水池,其特征在于,所述污水池連接污水入池管道,排油管道和排水管道;所述污水池還包括了超聲波換能器陣列架,沉降區域,斜管固定裝置以及隔離網。通過上述方式,本發明能夠實現油田污水的集中除雜,破乳和油水分離,保證油田污水的分類排放,將污水的排放對環境的影響降至比較。
摘要附圖

權利要求書
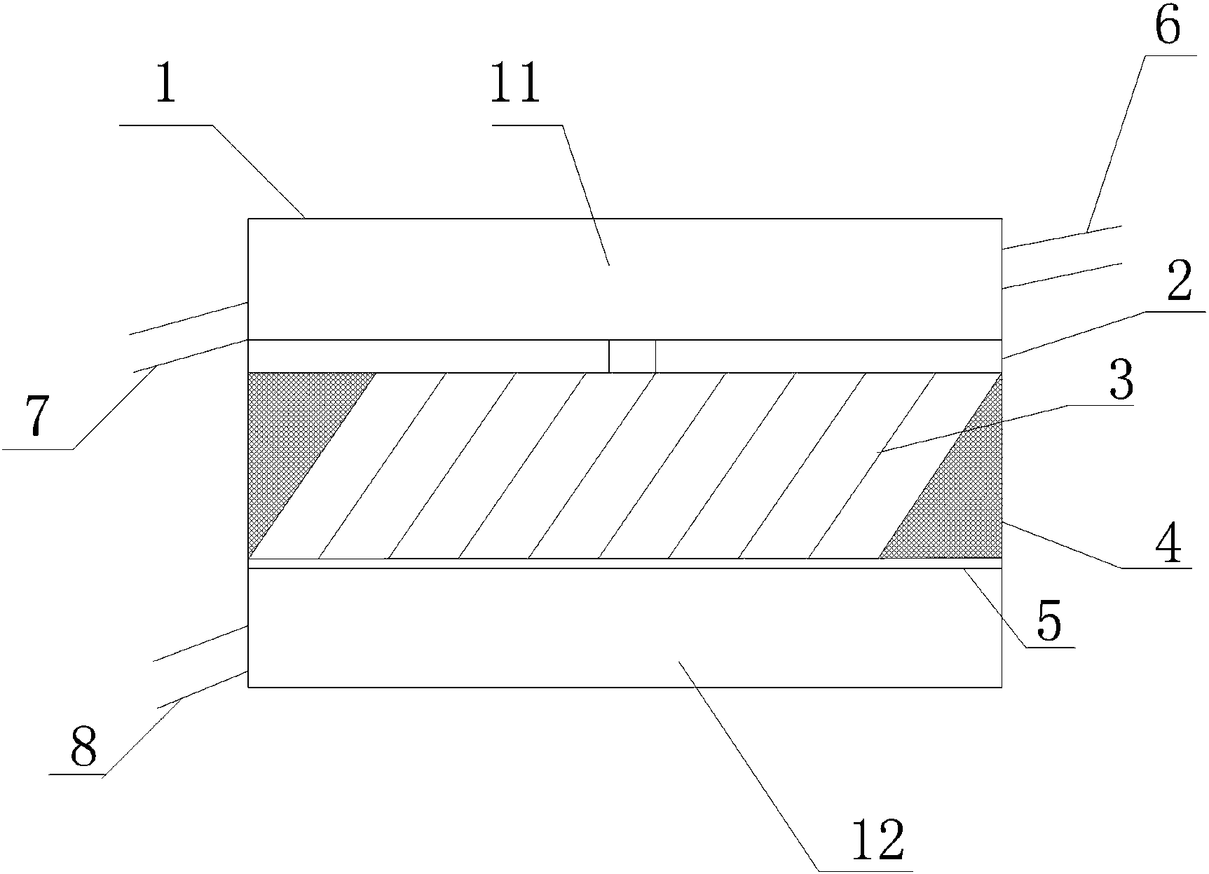
1.一種油田污水處理池,包括污水池,其特征在于,所述污水池連接污水入池管道,排油管道和排水管道;所述污水池還包括了超聲波換能器陣列架,沉降區域,斜管固定裝置以及隔離網;
所述超聲波換能器陣列架呈十字陣列,所述超聲波換能器陣列架四條懸臂分別固定在污水池的四個側壁,所述超聲波換能器陣列架內部為空心結構,其中設置超聲波換能器;在一條懸臂的頂端開設一個添加槽,所述添加槽上端開口,兩側連接添加劑回管,所述添加劑回管延所述超聲波換能器陣列架內壁環繞一圈,所述回管上等間距設置孔徑2mm的圓孔,用于將破乳劑均勻的分布于污水池內;
所述沉降區域位于超聲波換能器陣列架下方,緊鄰所述超聲波換能器陣列架,所述沉降區域采用斜管隔離各個沉降區,延污水處理池一個組對邊的方向放置斜管,在另一組對邊的池壁上設置斜管固定裝置,將斜管固定在所述污水池的中間;所述沉降區下端設置隔離網。
2.根據權利要求1所述的油田污水處理池,其特征在于:所述超聲波換能器架為外殼為網狀外殼,外殼網孔直徑1mm-2mm,網孔密度為10-15個/平方厘米,可根據油田污水雜質成分來設置。
3.根據權利要求1所述的油田污水處理池,其特征在于:所述斜管固定裝置上設置電磁線圈,電磁線圈上安裝磁極,可以對污水中的雜質進行電磁沉降處理。
4.根據權利要求1所述的油田污水處理池,其特征在于:所述斜管采用六邊形網狀斜管,斜管設置與水平方向成60度夾角。
5.根據權利要求1所述的油田污水處理池,其特征在于:所述隔離網的網孔密度為5-10個/平方厘米,網孔直徑為1mm。
6.根據權利要求1所述的油田污水處理池,其特征在于:所述超聲波換能器陣列架、斜管和隔離網均采用不銹鋼材料,抑制油污的腐蝕。
說明書
一種油田污水處理池
技術領域
本發明涉及污水處理技術領域,特別是涉及一種油田污水處理池。
背景技術
石油工業的蓬勃發展,對國民經濟起到了重要的推動作用,但是,石油天然氣勘探開發過程中產生的氣、固、液等廢棄物若不加以處理,則會對生態環境產生極大的污染,其中鉆井污水是勘探開發中比較主要的污染源。鉆井廢水的量不斷的增多,廢水的成分也日益復雜,對廢水的處理也越來越困難。另外,在油田開采的過程中,對于高滲透、酥松膠結的砂巖油藏,也會在污水中形成較大顆粒的機械雜質,這些雜質往往導致水泵的損壞,管道堵塞,F有的油田污水設備要么處理成本高昂,要么處理效率低下,無法滿足生產和環保的需要。因此開發經濟上可行,技術上可靠的鉆井廢水處理裝置,對石油鉆井單位而言,具有非常迫切的現實意義。
發明內容
本發明主要解決的技術問題是提供一種油田污水處理池,能夠實現油田污水的集中除雜,破乳和油水分離,保證油田污水的分類排放,將污水的排放對環境的影響降至比較低。
為解決上述技術問題,本發明采用的一個技術方案是:提供一種油田污水處理池,包括污水池,其特征在于,所述污水池連接污水入池管道,排油管道和排水管道;所述污水池還包括了超聲波換能器陣列架,沉降區域,斜管固定裝置以及隔離網;
所述超聲波換能器陣列架呈十字陣列,所述超聲波換能器陣列架四條懸臂分別固定在污水池的四個側壁,所述超聲波換能器陣列架內部為空心結構,其中設置超聲波換能器;在一條懸臂的頂端開設一個添加槽,所述添加槽上端開口,兩側連接添加劑回管,所述添加劑回管延所述超聲波換能器陣列架內壁環繞一圈,所述回管上等間距設置孔徑2mm的圓孔,用于將破乳劑均勻的分布于污水池內;
所述沉降區域位于超聲波換能器陣列架下方,緊鄰所述超聲波換能器陣列架,所述沉降區域采用斜管隔離各個沉降區,延污水處理池一個組對邊的方向放置斜管,在另一組對邊的池壁上設置斜管固定裝置,將斜管固定在所述污水池的中間;所述沉降區下端設置隔離網。
優選地,所述超聲波換能器架為外殼為網狀外殼,外殼網孔直徑1mm-2mm,網孔密度為10-15個/平方厘米,可根據油田污水雜質成分來設置。
優選地,所述斜管固定裝置上設置電磁線圈,電磁線圈上安裝磁極,可以對污水中的雜質進行電磁沉降處理。
優選地,所述斜管采用六邊形網狀斜管,斜管設置與水平方向成60度夾角。
優選地,所述隔離網的網孔密度為5-10個/平方厘米,網孔直徑為1mm。
優選地,所述超聲波換能器陣列架、斜管和隔離網均采用不銹鋼材料,抑制油污的腐蝕。
區別于現有技術的情況,本發明的有益效果是:
1、利用超聲波在液體中的空化作用,壓碎真空核炮群所產生的沖擊力進行破乳作業,可以很好的進行油污中的水分,在添加了破乳劑的情況下,脫水效果更加明顯。
2、采用電磁沉降的方式,可以很好的防止油污中的雜質以及電離子在排污管道內的堆積形成的堵塞,在污水池中進行雜質的集中沉降也方便后期的清理。
3、采用斜管沉降隔離的方式可以很好的利用斜管自身的阻擋作用,防止上下的對流引起的雜質隨液體的上下對流,從而流入排污管道造成阻塞。





