-
電鍍廢水中COD去除的詳情介紹(圖) 2018-04-02 [污水處理] 熱度:208

今天為廣大朋友介紹的是- 電鍍廢水中COD去除 電鍍行業是重污染行業也是耗水大戶,電鍍廢水的水質與電鍍生產的工藝條件、生產負荷、操作管理以及企業用水方式等多種因素有關,水質復雜,成分不易控制。90%以上電鍍廢...
-
水處理絮凝劑介紹(圖) 2018-04-02 [污水處理] 熱度:452

今天為大家介紹的是水處理絮凝劑,下面是具體內容。 水處理絮凝劑,各組分按重量份配比為:聚合硅酸鋁鐵8~15份,殼聚糖3~8份,水玻璃4~10份,硫酸鋁5~8份,氯化鐵5~12份。各組分按上述配比投加到適量水中,能夠...
-
制藥工業廢水脫色處理研究的詳情介紹(圖) 2018-04-02 [污水處理] 熱度:223

今天為廣大朋友介紹的是- 制藥工業廢水脫色處理研究 制藥工業廢水經過常規物化或生化處理后雖可凈化去除廢水中大部分有機物,但其中的發色物質難以被徹底去除,脫除廢水中的色度對凈化水質具有十分重要的意義。由于...
-
美麗鄉村污水處理詳細介紹(圖) 2018-04-02 [污水處理] 熱度:271

今天為大家介紹的是美麗鄉村污水處理,下面是具體內容。 建設美麗鄉村,是促進農村經濟社會科學發展、提升農民生活品質、加快城鄉一體化進程、建設幸福農村的重大舉措,是推進新農村建設和生態文明建設的主要抓手。...
-
納濾膜如何應用在廢水處理中的詳情介紹(圖) 2018-04-02 [污水處理] 熱度:339

今天為廣大朋友介紹的是- 納濾膜如何應用在廢水處理中 1生活污水:生活污水一般用生物降解/化學氧化法結合處理,但氧化劑的用量太大,殘留物多。薛罡等采用微絮凝纖維球過濾.超濾.納濾組合工藝對賓館洗浴廢水進行了...
-
納濾技術如何處理廢水的詳情介紹(圖) 2018-04-02 [污水處理] 熱度:283

今天為廣大朋友介紹的是 - 納濾技術如何處理廢水 1食品工業廢水:釀造業是l7個污染危害最大的行業之一,每升酒精將產生8~l5升高COD、高色度的廢水。Sanna等采用NFRO聯用技術處理酒糟廢水,實驗表明NF對色度的去除率...
-
新農村改造污水處理詳細介紹(圖) 2018-04-02 [污水處理] 熱度:535

今天為大家介紹的是新農村改造污水處理,下面是具體內容。 摘要: 文中主要分析了農村生活污水特點及排放特征、處理現狀及問題,并根據村落布局和社會經濟條件,探討了適宜不同地區的農村污水處理模式。同時為了保證...
-
超濾膜水處理技術的詳情介紹(圖) 2018-04-02 [污水處理] 熱度:306

今天為廣大朋友介紹的是- 淺談超濾膜水處理技術 近幾年,為更好的促進城市建設,眾多的工業工廠及企業在城市中建設,為城市發展帶來巨大的經濟效益。然而,許多工廠及企業存在著嚴重的水污染問題,臟水、廢水、污水...
-
農村污水處理選址要求介紹(圖) 2018-04-02 [污水處理] 熱度:301

今天為大家介紹的是 農村污水處理選址要求 ,下面是具體內容。 一,概述 由于農村居民居住較為分散,農村排水設施不完善,導致農村生活污水處理一直是個難點問題,所以各地要因地制宜,結合當地的情況,定制符合自身...
-
造紙白水處理工藝的詳情介紹(圖) 2018-04-02 [污水處理] 熱度:298

今天為廣大朋友介紹的是- 造紙白水處理工藝 造紙白水富含流失的纖維、無機填料及漿料中添加的各種化學助劑。造紙白水的物理化學特性因漿料種類、抄造品種、紙頁類型、裝備及濕部控制等不同而有較大差異。一般情況下,...
-
納濾膜在水處理與回用中的應用現狀介紹(圖) 2018-04-02 [污水處理] 熱度:501

今天為大家介紹的是納濾膜在水處理與回用中的應用現狀,下面是具體內容。 一,引言 近年來隨著經濟的高速增長、工業化和城市化的不斷推進,由此而來的水環境污染及其防治問題引起了普遍的關注.一方面,天然水體水質...
-
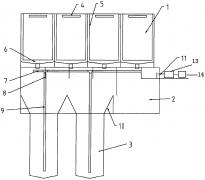
廢水固液分離設備介紹(圖) 2018-04-02 [污水處理] 熱度:369

今天為大家介紹的是廢水固液分離設備,下面是具體內容。 廢水固液分離設備及其分離方法,屬于污水處理技術領域。固液分離柜的內設有多個多層過濾部件,多層過濾部件四個側壁分別為三面篩網和一個出料門,底板為底板...
-
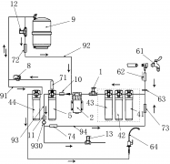
廢水比可調凈水機及其調節方法介紹(圖) 2018-04-02 [污水處理] 熱度:847

今天為大家介紹的是 廢水比可調凈水機及其調節方法 ,下面是具體內容。 廢水比可調凈水機及其調節方法,控制模塊連接TDS探針和撥碼開關,TDS探針將測量的TDS值傳送給控制模塊,撥碼開關將控制鍵的開閉情況傳送給控制...
-
飲用水消毒技術發展趨勢分析詳細介紹(圖) 2018-04-02 [污水處理] 熱度:349

今天為大家介紹的是飲用水消毒技術發展趨勢分析,下面是具體內容。 一,引言 飲用水消毒是飲用水凈化過程中的最后一個環節,也是和人體健康最直接相關的技術單元,始終作為飲用水安全保障的研究熱點.20世紀初,研究...
-
爆發式需求下 智慧水務仍存三大困局待解 2018-04-02 [行業資訊] 熱度:349

爆發式需求下,智慧水務仍存三大困局待解,下面是具體內容。 近日,一份《2017年全國集中式飲用水水源地水質報告》在水務圈引起熱議。據該報告披露,2017年35個水源地全年超標,51個水源地遭受濃度較高或具毒理性的...