-
家用壁掛式洗澡水處理設備詳細介紹(圖) 2018-04-02 [污水處理] 熱度:274

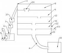
今天小編為大家介紹的是家用壁掛式洗澡水處理設備 家用壁掛式洗澡水處理設備,包括機架,所述機架側面設有儲水箱,所述儲水箱側面設有過濾結構,所述機架下端固定安裝有活性炭過濾器,所述活性炭過濾器下端固定安裝...
-
2018年環保新政策詳細解讀(圖) 2018-04-02 [污水處理] 熱度:286

今天小編為大家介紹的是2018年環保新政策詳細解讀 隨著現代社會的發展,越多環境污染的出現,我國對于環境的保護也越來越看重。對于一些出現亂排放污水污汽的企業工程,國家也一直在嚴令禁止,但還是有一些不遵守的...
-
缺氧池的作用詳細介紹(圖文) 2018-04-02 [污水處理] 熱度:2155

今天小編為大家介紹的是 缺氧池的作用 厭氧生物處理是在厭氧條件下,形成了厭氧微生物所需要的營養條件和環境條件,利用這類微生物分解廢水中的有機物并產生甲烷和二氧化碳的過程。 高分子有機物的厭氧降解過程可以被...
-
污水處理用缺氧池詳細介紹(圖) 2018-04-02 [污水處理] 熱度:2284

今天小編為大家介紹的是 污水處理用缺氧池 污水處理用 缺氧池 ,包括:缺氧池本體以及池底攪拌機組;所述池底攪拌機組設置在所述缺氧池本體底部。本發明提供一種能夠提升缺氧池內生化污泥和污水混合程度的污水處理用...
-
電廠脫硫廢水的處理方法詳細介紹(圖) 2018-04-02 [污水處理] 熱度:458

今天小編為大家介紹的是 電廠脫硫廢水的處理方法 電廠脫硫 廢水的處理方法,包括以下步驟:將脫硫廢水預處理初步澄清液;將初步澄清液進入濾裝置進行過濾;提供四隔室電滲析器通過電驅動作用對各個水流道單元內離子進行...
-
浮油和分散油處理技術詳細介紹(圖) 2018-04-02 [污水處理] 熱度:648

今天小編為大家介紹的是 浮油和分散油處理技術 含油廢水的產生條件及其危害特征;該類廢水的來源途徑很多,一般在應用中直接與油接觸的各類水中通常都會含油油類物質,多數渠道來自石油生產、化工企業、鋼鐵企業、焦...
-
建設美麗宜居鄉村 污水處理要重視 2018-04-02 [行業資訊] 熱度:279

今天小編為大家介紹的是 建設美麗宜居鄉村,污水處理要重視 ,下面是具體內容。 隨著農村居民生活水平日益提高,生活污水持續增長,但農村基礎設施依然落后。排污管網等相關污水處理設施的建設、運維成為影響農村人...
-
綠色解決方案成效顯著 海綿城市理念獲世界點贊 2018-04-02 [行業資訊] 熱度:273

今天小編為大家介紹的是 綠色解決方案成效顯著,海綿城市理念獲世界點贊 ,下面是具體內容。 為解決城市逢雨必澇,告別看海尷尬,我國自2015年開始試點開展海綿城市建設。經過三年如火如荼的試點,海綿城市建設成效...
-
治理黑臭水體 打好污水處理攻堅戰 2018-04-02 [行業資訊] 熱度:201

今天小編為大家介紹的是 治理黑臭水體,打好污水處理攻堅戰 ,下面是具體內容。 2018年,是環保稅正式開征之年,是貫徹落實十九大精神的開局之年,是十三五規劃實施的關鍵一年。在全面推行河長制的基礎上,我國水環...
-
水處理產業站上起飛“風口” 兩大主線牽引增長點 2018-04-02 [行業資訊] 熱度:197

今天小編為大家介紹的是 水處理產業站上起飛風口,兩大主線牽引增長點 ,下面是具體內容。 未來水處理向精準化發展,將催生更多的產業形態和新的企業物種,這一競逐加劇的時代將需要更加雄厚的綜合能力作為支撐。這...
-
北大科研團隊“海綿城市”理論和實踐 引國際廣泛關注 2018-04-02 [行業資訊] 熱度:338

今天小編為大家介紹的是 北大科研團隊海綿城市理論和實踐,引國際廣泛關注 ,下面是具體內容。 《2018年聯合國世界水發展報告》點贊中國海綿城市建設,北大科研團隊取得的新型理論和實踐成就也引發了廣泛關注。 2018...
-
DBO模式受關注 29個項目涉及金額逾230億 2018-04-02 [行業資訊] 熱度:298

今天小編為大家介紹的是 DBO模式受關注,29個項目涉及金額逾230億 ,下面是具體內容。 3月份21個上市水務企業中標29個項目,中標金額達230.39億,包含11個水環境綜合治理項目,11個污水廠處理項目,1個污泥處置項目...
-
上市公司加快在雄安新區布局 環保基建類公司率先斬獲訂單 2018-04-02 [行業資訊] 熱度:226

今天為廣大朋友介紹的是 上市公司加快在雄安新區布局 環保基建類公司率先斬獲訂單 雄安新區設立一年來,上市公司加快了在該地區的業務布局,作為率先受益的環保、基建類上市公司已經陸續斬獲訂單。 環保基建類公司收...
-
河北秦皇島與北控水務集團污水污泥處理PPP項目正式簽約 金額36.8 2018-04-02 [行業資訊] 熱度:322

今天為廣大朋友介紹的是 河北秦皇島與北控水務集團污水污泥處理PPP項目正式簽約 金額36.8億 3月31日下午,秦皇島市與北控水務集團就污水污泥處理PPP(政府和社會資本合作)項目在秦皇島正式簽約。 在PPP模式已經在各地...
-
超濾膜耦合工藝處理含油廢水的詳情介紹(圖) 2018-04-02 [污水處理] 熱度:332

今天為廣大朋友介紹的是 超濾膜耦合工藝處理含油廢水 由于單一的超濾膜存在易污染、膜通量下降快等問題,許多研究者研究超濾膜與其他含油污水處理工藝的聯用效果。目前國內外已有很多相關的文獻報道。耦合工藝主要有...