-
煤焦油深加工廢水處理工藝詳細介紹 2018-03-31 [污水處理] 熱度:679

今天為大家介紹的是煤焦油深加工廢水處理工藝 陜西省某企業以煤焦油為原料,生產萘油、洗油、輕油、脫酚油、蒽油及瀝青等產品,產品規模為26.5 萬t/a,所排廢水主要為焦油加溫靜置脫水產生的廢水、生產過程中產生的...
-
放射性廢水中銫去除方法詳細介紹 2018-03-31 [污水處理] 熱度:252

今天為大家介紹的是放射性廢水中銫去除方法 含銫廢水主要來源于核工業的核燃料處理 、 原子能發電站的核裂變產物,以及應用放射性同位素的研究機構等,其水量可達數百千克至數萬噸。 其中 137Cs不僅是銫的同位素中半...
-
凈化分離方法及其納濾設備詳細介紹 2018-03-31 [污水處理] 熱度:201

今天為大家介紹的是凈化分離方法及其納濾設備 高鹽廢水的凈化分離方法及其納濾設備,屬于廢水凈化處理技術領域。為了解決現有的易結垢的問題,提供一種高鹽廢水的凈化分離方法及其納濾設備,該納濾設備包括一內部具...
-
自含氯化鈣的廢水中制備氯化鈣的裝置詳細介紹 2018-03-31 [污水處理] 熱度:404

今天為大家介紹的是自含氯化鈣的廢水中制備氯化鈣的裝置 自含氯化鈣的污水中制備氯化鈣的裝置,包括霧化器、濕法除塵器、噴霧干燥塔,旋風分離器、干燥設備、熱交換設備及尾氣處理裝置;干燥設備通過管道分別連接燃燒...
-
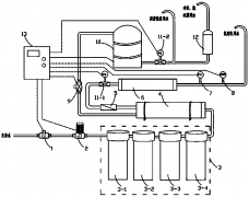
家庭智能無廢水凈水機詳細介紹 2018-03-31 [污水處理] 熱度:348

今天為大家介紹的是家庭智能無廢水凈水機 家庭智能無廢水凈水機,包括:進水電磁閥、增壓泵、前過濾裝置、RO反滲透過濾器、壓力桶、第二高壓開關、軟水器以及控制器;所述前過濾裝置設置在RO反滲透過濾器的前端,所述...
-
游泳池循環水處理系統詳細介紹 2018-03-31 [污水處理] 熱度:423

今天為大家介紹的是游泳池循環水處理系統 游泳池循環水處理系統,包括與游泳池進水口連接的供水系統、與游泳池出水口連接的排水系統以及與游泳池溢流口連接的溢流系統;所述供水系統包括與游泳池進行水源交換的均衡水...
-
水處理用離子交換劑自動再生設備詳細介紹 2018-03-31 [污水處理] 熱度:218

今天為大家介紹的是水處理用離子交換劑自動再生設備 水處理用離子交換劑自動再生設備,包括置換劑加工裝置、置換劑筒、交換劑安置層、固定平臺,所述置換劑加工裝置一側焊接有所述固定平臺,所述固定平臺上設置有固...
-
高效印染廢水脫色劑合成詳細介紹 2018-03-31 [污水處理] 熱度:321

今天為大家介紹的是高效印染廢水脫色劑合成 印染廢水是一種有機物含量高、色度高、難生化降解的廢水,其成分復雜,國內外進行了大量的研究。自20世紀70年代以來,美、日、英、法等國在印染廢水處理中都大量使用了陽離子...
-
高效污泥濃縮機 2018-03-31 [污水處理] 熱度:314

今天為大家介紹的是高效污泥濃縮機 高效工作的污泥濃縮機,其結構包括中心支座、工作橋、系統控制柜、驅動系統、攤渣機構、出渣管、擋渣板、污泥池、出泥口、進水口、溢流板、穩流筒、支架板、濃縮攪拌柵條、椼架、...
-
中心傳動污泥濃縮機詳細介紹 2018-03-31 [污水處理] 熱度:394

今天為大家介紹的是中心傳動污泥濃縮機 重力式中心傳動污泥濃縮機,其特征在于:包括刮泥架,所述刮泥架上設有傾斜設置的板形刮泥構件和弧形刮泥構件;所述弧形刮泥構件包括弧形板體,弧形板體具有窄邊部、寬邊部和兩...
-
成都市排水有限責任公司新建污水處理廠詳細介紹 2018-03-31 [污水處理] 熱度:313

成都市排水有限責任公司新建污水處理廠位于四川成都市,于2014-5-1正式建成投入運行,成都市排水有限責任公司新建污水處理廠采取的污水處理工藝為A2/O,其設計規模為70.00萬立方米/日, 平均日處理規模達到61.22萬立...
-
染料廢水處理方法研究詳細介紹 2018-03-31 [污水處理] 熱度:353

今天為大家介紹的是染料廢水處理方法研究 一,引言(Introduction) 隨著經濟的快速發展,我國已成為染料生產大國,但隨之而來產生了大量的染料廢水.除了大量殘留的染料外,染料廢水中還含有其他有毒有害成分,如重金...
-
染料廢水脫色方法詳細介紹 2018-03-31 [污水處理] 熱度:280

今天為大家介紹的是染料廢水脫色方法 一,引言(Introduction) 隨著經濟的快速發展,我國已成為染料生產大國,但隨之而來產生了大量的染料廢水.除了大量殘留的染料外,染料廢水中還含有其他有毒有害成分,如重金屬離...
-
城市污水處理廠的工藝區別 2018-03-31 [污水處理] 熱度:351

今天為大家介紹的是城市污水處理廠的工藝區別 建設城市污水處理廠是水資源利用和水污染控制的必然趨勢,是可持續發展要求的必然結果。而污水處理廠工藝的選擇,直接關系到建設費用和運行費用的多少、處理效果的好壞...
-
生活污水處理工藝流程詳細介紹 2018-03-31 [污水處理] 熱度:311

今天為大家介紹的是生活污水處理工藝流程 隨著人們生活水平的提高,生活污水排放越來越嚴重。在這樣的形式下,生活污水處理工藝也在不斷改進,下面我們來了解一下最新的生活廢水處理工藝流程。 1、曝氣生物濾池 生活...